当前位置: 首页 > 知识产权交易 > 专利转让 >

待交易一种钢筋套快速攻丝机

专利号:2020109285219 已授权

申请日:2020-09-07发布日期:2022-05-13

立即收藏 立即询价 转让价格:询价

专利摘要

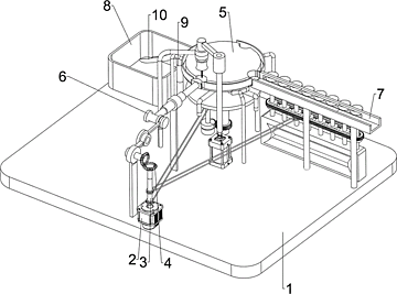
本发明涉及一种攻丝机,尤其涉及一种钢筋套快速攻丝机。本发明提供一种人工劳动强度小、安全隐患小、效率高且稳定性高的能够全自动送料,并且还能将钻床联系起来,能够实现全自动生产的钢筋套快速攻丝机。一种钢筋套快速攻丝机,包括:地板,地板顶部一侧设有电机;第一转轴,电机的输出轴上设有第一转轴;第一锥齿轮,第一转轴顶部设有第一锥齿轮;换料机构,地板顶部远离电机一侧设有换料机构;攻丝挤压机构,地板顶部换料机构与电机之间设有攻丝挤压机构,攻丝挤压机构与第一锥齿轮啮合。本发明通过设有攻丝挤压机构,可以对钢丝套进行挤压,固定钢丝套,避免钢丝套随意移动从而产生不良产品。

交易流程

  • 平台资深顾问将根据买家的需求,提供一对一服务,协助买家挑选到合适的专利。

  • 待买家确认无误后,根据顾问指导进行下单,并签订协议与合同,买家需要支付50%交易款给平台。

  • 平台将负责办理官方变更手续,向国知局提交转让材料。

  • 约10个工作日左右,待买家确认收到专利《变更手续合格通知书》后,向平台支付剩余交易款。

  • 转让成功后,平台会将专利证书原件、专利登记簿副本原件邮寄给买家,同时把交易尾款支付给卖家,保障双方交易顺利。

过户资料

主体资格 转让方提供 受让方提供 平台提供 转让完成,可获得
自然人 身份证复印件,专利证书原件; 身份证复印件
有效个体营业执照
转让申请书
代理委托书
转让协议书
发明人变更声明
专利证书
手续合格通知书
专利登记簿副本
公司 有效的企业营业执照副本复印件,专利证书原件 有效的企业营业执照副本复印件;企业组织机构代码证
平台专属代理事务所将对委托交易全程监督,确保所有交易合同及相关文件合法有效。

发布求购信息