当前位置: 首页 > 知识产权交易 > 专利转让 >

待交易一种大功率电缆耐压试验装置

专利号:CN202221484717.4 已授权

申请日:2022-12-06发布日期:2022-12-06

立即收藏 立即询价 转让价格:询价

专利摘要

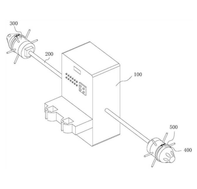
本实用新型涉及一种大功率电缆耐压试验装置,包括实验设备、导线套、转套、绝缘套和卡箍,实验设备的前侧中间固定有前支撑板,实验设备的两侧固定有导线套,导线套远离实验设备的一端固定有卡块,卡块远离导线套的一侧固定有卡壳,卡壳内贯通固定有第一导电柱,卡壳远离导线套的一端面中央转动连接有转柱,转柱远离导线套的一端面固定有转套,转套的周侧环形阵列固定有绝缘转杆,转套远离导线套的一端固定有绝缘套,绝缘套的周侧活动连接有卡箍,解决了现有的大功率电缆耐压试验装置无法充分地保证实验安全和无法方便地更换电缆内部线路来实验的问题,本实用新型具有实验时,减少电缆端部漏电造成的危险和可以更方便安全地更换实验的电缆线路。

交易流程

  • 平台资深顾问将根据买家的需求,提供一对一服务,协助买家挑选到合适的专利。

  • 待买家确认无误后,根据顾问指导进行下单,并签订协议与合同,买家需要支付50%交易款给平台。

  • 平台将负责办理官方变更手续,向国知局提交转让材料。

  • 约10个工作日左右,待买家确认收到专利《变更手续合格通知书》后,向平台支付剩余交易款。

  • 转让成功后,平台会将专利证书原件、专利登记簿副本原件邮寄给买家,同时把交易尾款支付给卖家,保障双方交易顺利。

过户资料

主体资格 转让方提供 受让方提供 平台提供 转让完成,可获得
自然人 身份证复印件,专利证书原件; 身份证复印件
有效个体营业执照
转让申请书
代理委托书
转让协议书
发明人变更声明
专利证书
手续合格通知书
专利登记簿副本
公司 有效的企业营业执照副本复印件,专利证书原件 有效的企业营业执照副本复印件;企业组织机构代码证
平台专属代理事务所将对委托交易全程监督,确保所有交易合同及相关文件合法有效。

发布求购信息