当前位置: 首页 > 知识产权交易 > 专利转让 >

待交易一种带回转功能的树枝剪

专利号:CN202221610431.6 已授权

申请日:2022-12-06发布日期:2022-12-06

立即收藏 立即询价 转让价格:询价

专利摘要

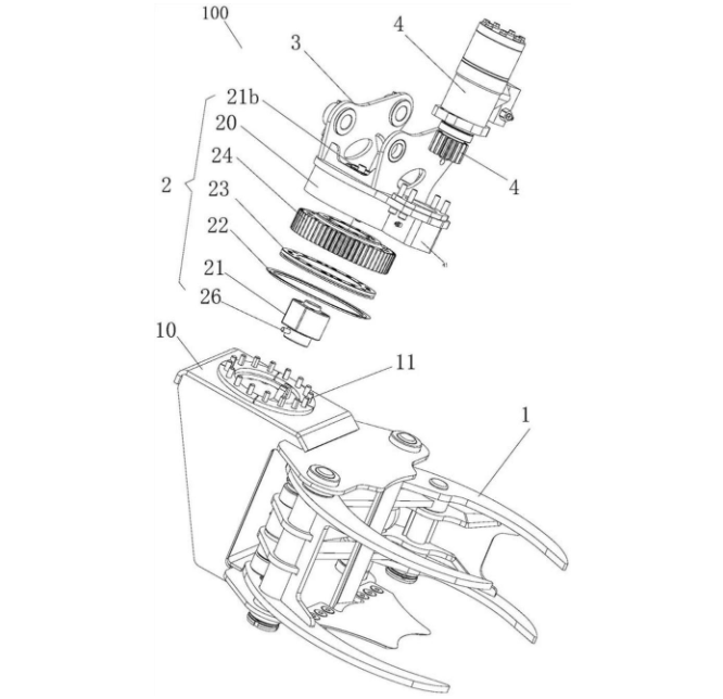
本实用新型公开了一种带回转功能的树枝剪,包括连接于挖掘机的工作臂前端的树枝剪组件本体,该树枝剪组件本体包括树枝剪下身、回转支撑组件、马拉头和旋转马达,所述马拉头的下端固定连接在所述回转支撑组件的上端,所述树枝剪下身的头部水平连接在回转支撑组件的下端,所述旋转马达的固定端固定连接在马拉头的侧部,所述旋转马达的输出端与所述回转支撑组件侧部啮合传动连接,所述回转支撑组件包括回转支撑座、中央回转接头和回转支撑齿盘。本实用新的树枝剪能够进行回转,为此在树枝剪在修剪树枝时,使工作更加灵活方便,大大提高了树枝剪在修枝、剪树时的机械化作业水平,从而改善了树枝剪的工作效率。

交易流程

  • 平台资深顾问将根据买家的需求,提供一对一服务,协助买家挑选到合适的专利。

  • 待买家确认无误后,根据顾问指导进行下单,并签订协议与合同,买家需要支付50%交易款给平台。

  • 平台将负责办理官方变更手续,向国知局提交转让材料。

  • 约10个工作日左右,待买家确认收到专利《变更手续合格通知书》后,向平台支付剩余交易款。

  • 转让成功后,平台会将专利证书原件、专利登记簿副本原件邮寄给买家,同时把交易尾款支付给卖家,保障双方交易顺利。

过户资料

主体资格 转让方提供 受让方提供 平台提供 转让完成,可获得
自然人 身份证复印件,专利证书原件; 身份证复印件
有效个体营业执照
转让申请书
代理委托书
转让协议书
发明人变更声明
专利证书
手续合格通知书
专利登记簿副本
公司 有效的企业营业执照副本复印件,专利证书原件 有效的企业营业执照副本复印件;企业组织机构代码证
平台专属代理事务所将对委托交易全程监督,确保所有交易合同及相关文件合法有效。

发布求购信息