当前位置: 首页 > 知识产权交易 > 专利转让 >

待交易水力除砂除杂设备

专利号:CN202221720559.8 已授权

申请日:2022-12-07发布日期:2022-12-07

立即收藏 立即询价 转让价格:询价

专利摘要

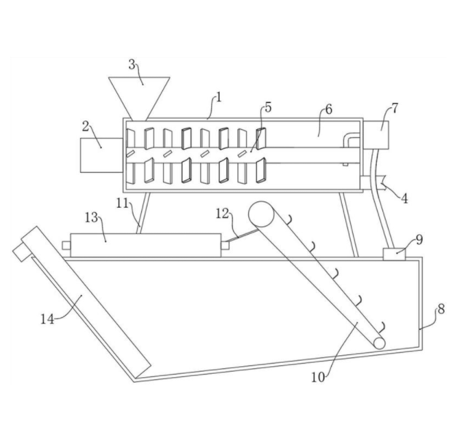
本实用新型公开了水力除砂除杂设备,涉及一种除砂除杂设备,包括卧式分选机与滤液设备,卧式分选机包括筒体,筒体内部设有与筒体轴线同轴设置的转轴,转轴的外周部固定安装有多个锤片,锤片沿转轴轴线方向呈螺旋状排列,卧式分选机上还设有用于驱动转轴旋转的驱动设备,滤液设备包括滤液池,滤液池上设有输料口,滤液池内远离输料口的一侧依次固定安装有转鼓式螺旋格栅除污机以及螺旋输送泵。本申请实现二次除砂效果,并还能通过转鼓式螺旋格栅除污机将滤液中的浮渣去除,整个装置一体化程度高,达到了最大效率的除砂除杂效果。

交易流程

  • 平台资深顾问将根据买家的需求,提供一对一服务,协助买家挑选到合适的专利。

  • 待买家确认无误后,根据顾问指导进行下单,并签订协议与合同,买家需要支付50%交易款给平台。

  • 平台将负责办理官方变更手续,向国知局提交转让材料。

  • 约10个工作日左右,待买家确认收到专利《变更手续合格通知书》后,向平台支付剩余交易款。

  • 转让成功后,平台会将专利证书原件、专利登记簿副本原件邮寄给买家,同时把交易尾款支付给卖家,保障双方交易顺利。

过户资料

主体资格 转让方提供 受让方提供 平台提供 转让完成,可获得
自然人 身份证复印件,专利证书原件; 身份证复印件
有效个体营业执照
转让申请书
代理委托书
转让协议书
发明人变更声明
专利证书
手续合格通知书
专利登记簿副本
公司 有效的企业营业执照副本复印件,专利证书原件 有效的企业营业执照副本复印件;企业组织机构代码证
平台专属代理事务所将对委托交易全程监督,确保所有交易合同及相关文件合法有效。

发布求购信息