当前位置: 首页 > 知识产权交易 > 专利转让 >

待交易一种干法脱硫脱硝系统

专利号:CN202221864230.9 已授权

申请日:2022-12-07发布日期:2022-12-07

立即收藏 立即询价 转让价格:询价

专利摘要

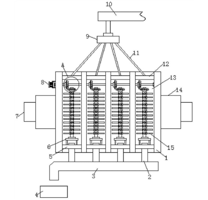
本实用新型公开了一种干法脱硫脱硝系统,涉及烟气处理技术领域,包括吸附塔,所述吸附塔一侧的中间位置处设置有烟气进口,且吸附塔另一侧的中间位置处设置有烟气出口,所述吸附塔的内部开设有多个腔室,且腔室内部的底端安装有底板。本实用新型通过利用驱动电机的驱动可以带动安装杆进行转动,在安装杆的转动下便可以通过主动锥形齿轮带动从动锥形齿轮进行转动,从而可以使得搅拌杆进行转动,通过搅拌杆的转动便可以在腔室的内部进行搅拌,以此可以使得烟气通过和腔室内部的吸附剂进行反应时,加快烟气和吸附剂的反应效率,提高烟气的吸附质量,以此提高本装置的工作效率和质量。

交易流程

  • 平台资深顾问将根据买家的需求,提供一对一服务,协助买家挑选到合适的专利。

  • 待买家确认无误后,根据顾问指导进行下单,并签订协议与合同,买家需要支付50%交易款给平台。

  • 平台将负责办理官方变更手续,向国知局提交转让材料。

  • 约10个工作日左右,待买家确认收到专利《变更手续合格通知书》后,向平台支付剩余交易款。

  • 转让成功后,平台会将专利证书原件、专利登记簿副本原件邮寄给买家,同时把交易尾款支付给卖家,保障双方交易顺利。

过户资料

主体资格 转让方提供 受让方提供 平台提供 转让完成,可获得
自然人 身份证复印件,专利证书原件; 身份证复印件
有效个体营业执照
转让申请书
代理委托书
转让协议书
发明人变更声明
专利证书
手续合格通知书
专利登记簿副本
公司 有效的企业营业执照副本复印件,专利证书原件 有效的企业营业执照副本复印件;企业组织机构代码证
平台专属代理事务所将对委托交易全程监督,确保所有交易合同及相关文件合法有效。

发布求购信息