当前位置: 首页 > 知识产权交易 > 专利转让 >

待交易一种用于检测电感器的固定治具

专利号:CN202020185693.7 已授权

申请日:2022-12-08发布日期:2022-12-08

立即收藏 立即询价 转让价格:询价

专利摘要

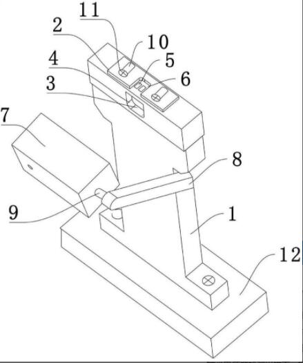
本实用新型涉及一种用于检测电感器的固定治具,包括固定治具主体、固定块、光学棱镜和光源装置,固定治具主体顶部可拆卸连接有固定块,固定治具主体上端部的前侧设置有前后朝向的第一通孔,固定治具主体的上侧开设有两个与第一通孔连通的第二通孔,两个第二通孔并排设置,固定块前侧中央开设有用于放置电感器的缺口,缺口位于所述第二通孔上方,光学棱镜设置于第一通孔内,光源装置通过连接杆与固定治具主体连接,光源装置与第一通孔正对设置。本实用新型的一种用于检测电感器的固定治具通过采用光学棱镜折射原理,能够使电感器外部被照亮,便于电感器外观的检测,减少电感器检测出错率,提高电感器生产效率。

交易流程

  • 平台资深顾问将根据买家的需求,提供一对一服务,协助买家挑选到合适的专利。

  • 待买家确认无误后,根据顾问指导进行下单,并签订协议与合同,买家需要支付50%交易款给平台。

  • 平台将负责办理官方变更手续,向国知局提交转让材料。

  • 约10个工作日左右,待买家确认收到专利《变更手续合格通知书》后,向平台支付剩余交易款。

  • 转让成功后,平台会将专利证书原件、专利登记簿副本原件邮寄给买家,同时把交易尾款支付给卖家,保障双方交易顺利。

过户资料

主体资格 转让方提供 受让方提供 平台提供 转让完成,可获得
自然人 身份证复印件,专利证书原件; 身份证复印件
有效个体营业执照
转让申请书
代理委托书
转让协议书
发明人变更声明
专利证书
手续合格通知书
专利登记簿副本
公司 有效的企业营业执照副本复印件,专利证书原件 有效的企业营业执照副本复印件;企业组织机构代码证
平台专属代理事务所将对委托交易全程监督,确保所有交易合同及相关文件合法有效。

发布求购信息