当前位置: 首页 > 知识产权交易 > 专利转让 >

待交易一种压力波聚焦的灭弧装置

专利号:CN202121850964.7 已授权

申请日:2022-12-26发布日期:2022-12-26

立即收藏 立即询价 转让价格:询价

专利摘要

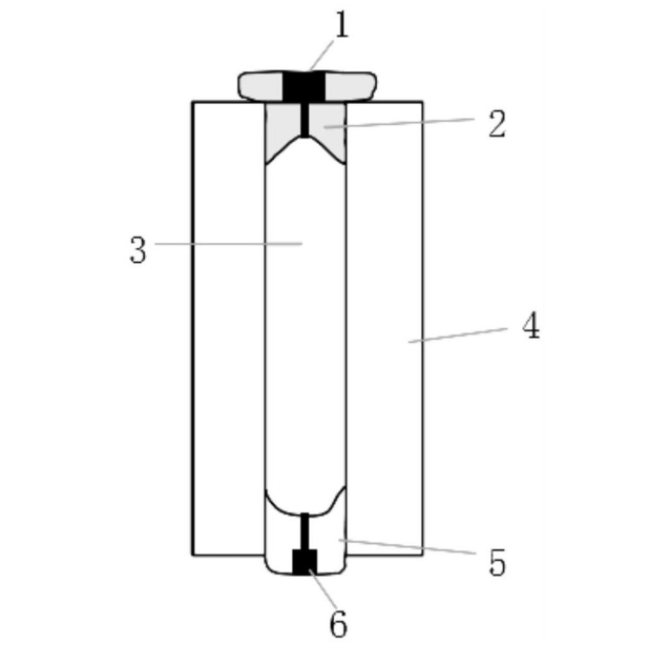
本实用新型公开了一种压力波聚焦的灭弧装置,属于防雷灭弧技术领域,包括上电极、上端密封硅胶、绝缘液体、陶瓷管、下端端密封硅胶和下电极,上电极嵌套在上端密封硅胶内,并两端露出,上端密封硅胶密封设置在陶瓷管的一端,下电极嵌套在下端端密封硅胶内,并两端露出,下端端密封硅胶密封设置在陶瓷管的另一端,陶瓷管内灌满绝缘液体。压力波聚焦在焦点处,焦点的压力比原先通道提高很多倍,提高了灭弧能力;压力波经陶瓷管壁反射,经抛物面聚焦于焦点处,在焦点产生更大的压强,从而在雷电流幅值很小的时候截断电弧,因为此时电流的抗遮断能力弱。

交易流程

  • 平台资深顾问将根据买家的需求,提供一对一服务,协助买家挑选到合适的专利。

  • 待买家确认无误后,根据顾问指导进行下单,并签订协议与合同,买家需要支付50%交易款给平台。

  • 平台将负责办理官方变更手续,向国知局提交转让材料。

  • 约10个工作日左右,待买家确认收到专利《变更手续合格通知书》后,向平台支付剩余交易款。

  • 转让成功后,平台会将专利证书原件、专利登记簿副本原件邮寄给买家,同时把交易尾款支付给卖家,保障双方交易顺利。

过户资料

主体资格 转让方提供 受让方提供 平台提供 转让完成,可获得
自然人 身份证复印件,专利证书原件; 身份证复印件
有效个体营业执照
转让申请书
代理委托书
转让协议书
发明人变更声明
专利证书
手续合格通知书
专利登记簿副本
公司 有效的企业营业执照副本复印件,专利证书原件 有效的企业营业执照副本复印件;企业组织机构代码证
平台专属代理事务所将对委托交易全程监督,确保所有交易合同及相关文件合法有效。

发布求购信息