当前位置: 首页 > 知识产权交易 > 专利转让 >

待交易一种承受高强度压力密封的灭弧装置

专利号:CN202121850963.2 已授权

申请日:2022-12-26发布日期:2022-12-26

立即收藏 立即询价 转让价格:询价

专利摘要

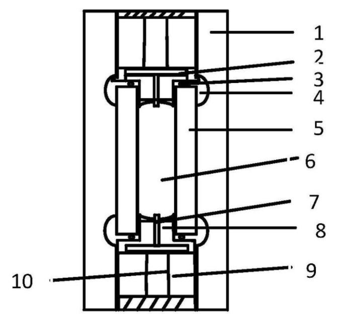
本实用新型公开了一种承受高强度压力密封的灭弧装置,属于防雷灭弧技术领域,包括塑胶套、钢套、陶瓷管、灭弧绝缘液体、导电极、密封硅胶,导电极嵌套在密封硅胶内,密封硅胶密封设置在陶瓷管的两端,钢套紧固在密封硅胶与陶瓷管的连接处的外侧,灭弧绝缘液体设置在陶瓷管内,塑胶套套设在钢套和陶瓷管的外侧。本实用新型电弧在液体中放电产生液电效应,形成冲击压力波,冲击电弧在刚刚形成之时就立即被截断,陶瓷管内的高压破坏了持续放电条件和重燃条件,截断冲击电弧后,重燃击穿时间被大幅度延迟十几到几十微秒以上,优化灭弧电流遮断机制,将产生的压力波聚焦到灭弧通道上的一点,在焦点处产生更大的压力,遮断能力更强,结构简单,密封性能好。

交易流程

  • 平台资深顾问将根据买家的需求,提供一对一服务,协助买家挑选到合适的专利。

  • 待买家确认无误后,根据顾问指导进行下单,并签订协议与合同,买家需要支付50%交易款给平台。

  • 平台将负责办理官方变更手续,向国知局提交转让材料。

  • 约10个工作日左右,待买家确认收到专利《变更手续合格通知书》后,向平台支付剩余交易款。

  • 转让成功后,平台会将专利证书原件、专利登记簿副本原件邮寄给买家,同时把交易尾款支付给卖家,保障双方交易顺利。

过户资料

主体资格 转让方提供 受让方提供 平台提供 转让完成,可获得
自然人 身份证复印件,专利证书原件; 身份证复印件
有效个体营业执照
转让申请书
代理委托书
转让协议书
发明人变更声明
专利证书
手续合格通知书
专利登记簿副本
公司 有效的企业营业执照副本复印件,专利证书原件 有效的企业营业执照副本复印件;企业组织机构代码证
平台专属代理事务所将对委托交易全程监督,确保所有交易合同及相关文件合法有效。

发布求购信息