当前位置: 首页 > 知识产权交易 > 专利转让 >

待交易一种便于携带的自动挖坑装置

专利号:CN202121945109.4 已授权

申请日:2022-12-27发布日期:2022-12-27

立即收藏 立即询价 转让价格:询价

专利摘要

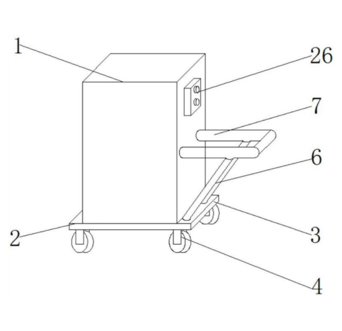
本实用新型公开了一种便于携带的自动挖坑装置,包括箱体,所述箱体的底部设置有移动组件,所述箱体的一侧内壁设置有滑动组件,所述滑动组件的另一侧固定安装有第一固定架和第二固定架,所述第一固定架的顶部固定安装有第二电机,所述第二电机的输出端贯穿第一固定架固定安装有电动推杆,所述第二固定架的底部设置有钻取组件,所述移动组件包括固定安装在箱体底部的底座。该一种便于携带的自动挖坑装置,在进行日常使用的过程中,工作人员对推拉杆施力,通过移动轮对装置整体进行移动,代替了传统的以拖拉机、挖掘机为动力源的挖坑装置,方便在山区中移动作业,省时省力,提高了工作效率。

交易流程

  • 平台资深顾问将根据买家的需求,提供一对一服务,协助买家挑选到合适的专利。

  • 待买家确认无误后,根据顾问指导进行下单,并签订协议与合同,买家需要支付50%交易款给平台。

  • 平台将负责办理官方变更手续,向国知局提交转让材料。

  • 约10个工作日左右,待买家确认收到专利《变更手续合格通知书》后,向平台支付剩余交易款。

  • 转让成功后,平台会将专利证书原件、专利登记簿副本原件邮寄给买家,同时把交易尾款支付给卖家,保障双方交易顺利。

过户资料

主体资格 转让方提供 受让方提供 平台提供 转让完成,可获得
自然人 身份证复印件,专利证书原件; 身份证复印件
有效个体营业执照
转让申请书
代理委托书
转让协议书
发明人变更声明
专利证书
手续合格通知书
专利登记簿副本
公司 有效的企业营业执照副本复印件,专利证书原件 有效的企业营业执照副本复印件;企业组织机构代码证
平台专属代理事务所将对委托交易全程监督,确保所有交易合同及相关文件合法有效。

发布求购信息