当前位置: 首页 > 知识产权交易 > 专利转让 >

待交易一种海鸭蛋包裹红泥的装置

专利号:CN202122050733.4 已授权

申请日:2022-12-27发布日期:2022-12-27

立即收藏 立即询价 转让价格:询价

专利摘要

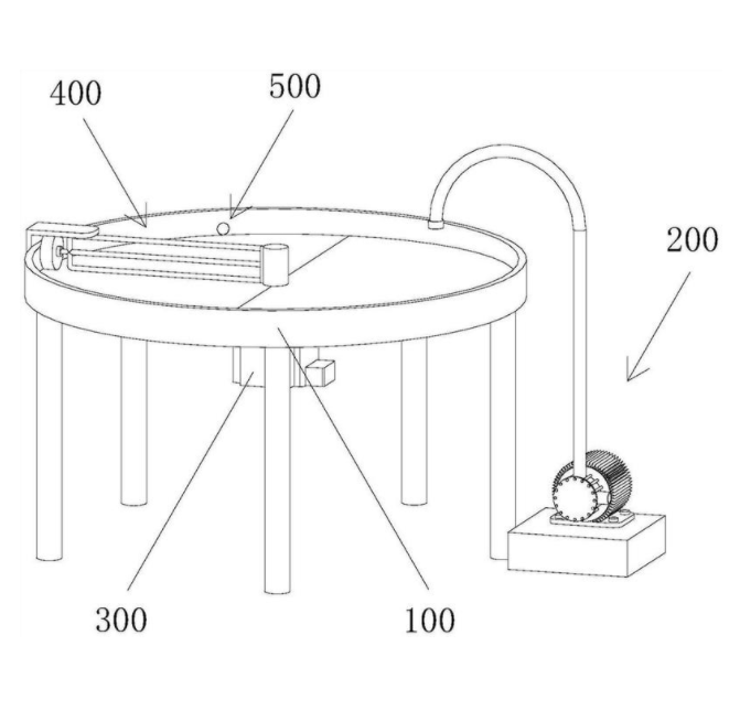
本实用新型公开了一种海鸭蛋包裹红泥的装置,涉及农产品技术领域。本实用新型包括滚泥盘、输泥装置、动力电机、旋转装置和清洗塞,滚泥盘一旁设置有输泥装置,滚泥盘上固定连接有斜面台,滚泥盘下方中间固定连接有动力电机,滚泥盘上方中间转动连接有旋转装置,滚泥盘一侧可拆卸连接有清洗塞。本实用新型通过设置滚泥盘、斜面台、动力电机、电机转轴、旋转装置、旋转转轴、滚蛋格、滚轮和挡泥板,解决了现有的海鸭蛋包裹红泥的装置不够自动化,靠工作人员手工滚泥,不仅提高了人力成本,且效率不高;海鸭蛋包裹红泥的装置在滚泥完成后将海鸭蛋取出红泥稀泥时不够方便,鸭蛋没入红泥稀泥中导致不便拿取的问题。

交易流程

  • 平台资深顾问将根据买家的需求,提供一对一服务,协助买家挑选到合适的专利。

  • 待买家确认无误后,根据顾问指导进行下单,并签订协议与合同,买家需要支付50%交易款给平台。

  • 平台将负责办理官方变更手续,向国知局提交转让材料。

  • 约10个工作日左右,待买家确认收到专利《变更手续合格通知书》后,向平台支付剩余交易款。

  • 转让成功后,平台会将专利证书原件、专利登记簿副本原件邮寄给买家,同时把交易尾款支付给卖家,保障双方交易顺利。

过户资料

主体资格 转让方提供 受让方提供 平台提供 转让完成,可获得
自然人 身份证复印件,专利证书原件; 身份证复印件
有效个体营业执照
转让申请书
代理委托书
转让协议书
发明人变更声明
专利证书
手续合格通知书
专利登记簿副本
公司 有效的企业营业执照副本复印件,专利证书原件 有效的企业营业执照副本复印件;企业组织机构代码证
平台专属代理事务所将对委托交易全程监督,确保所有交易合同及相关文件合法有效。

发布求购信息