当前位置: 首页 > 知识产权交易 > 专利转让 >

待交易一种具有自动提示发酵程度功能的面制食品发酵箱

专利号:CN202020620807.6 已授权

申请日:2022-12-28发布日期:2022-12-28

立即收藏 立即询价 转让价格:询价

专利摘要

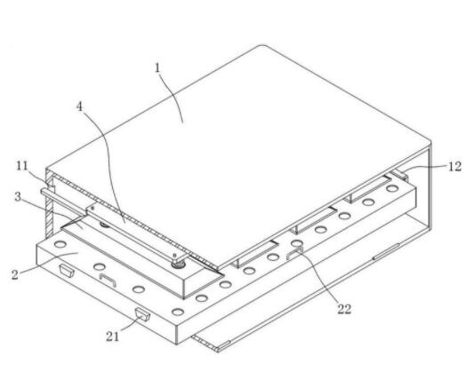
本实用新型涉及食品发酵技术领域,具体为一种具有自动提示发酵程度功能的面制食品发酵箱,包括外箱本体、支撑盘和设置在支撑盘顶部的四个移动座,四个移动座顶部均设有固定板,固定板与移动座之间设有两个弹簧,本实用新型中通过设置滑杆,移动座受到挤压力带动滑杆沿滑槽内壁向上滑动,使用人员观察滑杆与滑槽顶壁的距离,距离越近面制食品发酵的程度越大,从而达到提示使用人员面制食品发酵程度的目的,从而达到提示的目的,通过设置通孔,液体受重力作用沿通孔进入空腔内,从而达到对液化后的水蒸气收集的目的,避免液化后的水蒸气影响面制食品发酵后的口感。

交易流程

  • 平台资深顾问将根据买家的需求,提供一对一服务,协助买家挑选到合适的专利。

  • 待买家确认无误后,根据顾问指导进行下单,并签订协议与合同,买家需要支付50%交易款给平台。

  • 平台将负责办理官方变更手续,向国知局提交转让材料。

  • 约10个工作日左右,待买家确认收到专利《变更手续合格通知书》后,向平台支付剩余交易款。

  • 转让成功后,平台会将专利证书原件、专利登记簿副本原件邮寄给买家,同时把交易尾款支付给卖家,保障双方交易顺利。

过户资料

主体资格 转让方提供 受让方提供 平台提供 转让完成,可获得
自然人 身份证复印件,专利证书原件; 身份证复印件
有效个体营业执照
转让申请书
代理委托书
转让协议书
发明人变更声明
专利证书
手续合格通知书
专利登记簿副本
公司 有效的企业营业执照副本复印件,专利证书原件 有效的企业营业执照副本复印件;企业组织机构代码证
平台专属代理事务所将对委托交易全程监督,确保所有交易合同及相关文件合法有效。

发布求购信息