当前位置: 首页 > 知识产权交易 > 专利转让 >

待交易一种人防门框高强度螺栓测试装置

专利号:CN202021187835.X 已授权

申请日:2022-12-29发布日期:2022-12-29

立即收藏 立即询价 转让价格:询价

专利摘要

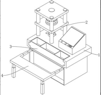
本实用新型涉及测试装置技术领域,具体地说,涉及一种人防门框高强度螺栓测试装置。其包括底板,底板顶部设置有高强度螺栓检测仪本体,底板靠近边缘处的顶部开设有放置槽,放置槽内部滑动设置有存放装置,底板底部设置有底箱,底箱外壁开设有折叠槽,折叠槽内腔靠近顶部设置有连接杆,连接杆外壁转动设置有折叠凳,折叠凳包括坐板,坐板端部设置有两个对称的伸缩杆,坐板底部靠近边缘处设置有两个连接叉,连接叉内部转动设置有伸缩腿,存放装置包括存放盒,存放盒内部设置有两个分隔板,分隔板把存放盒内部等分呈三部分,本实用新型可以分类存放螺栓,且方便工作人员使用凳子休息,不使用时可以折叠,节约空间。

交易流程

  • 平台资深顾问将根据买家的需求,提供一对一服务,协助买家挑选到合适的专利。

  • 待买家确认无误后,根据顾问指导进行下单,并签订协议与合同,买家需要支付50%交易款给平台。

  • 平台将负责办理官方变更手续,向国知局提交转让材料。

  • 约10个工作日左右,待买家确认收到专利《变更手续合格通知书》后,向平台支付剩余交易款。

  • 转让成功后,平台会将专利证书原件、专利登记簿副本原件邮寄给买家,同时把交易尾款支付给卖家,保障双方交易顺利。

过户资料

主体资格 转让方提供 受让方提供 平台提供 转让完成,可获得
自然人 身份证复印件,专利证书原件; 身份证复印件
有效个体营业执照
转让申请书
代理委托书
转让协议书
发明人变更声明
专利证书
手续合格通知书
专利登记簿副本
公司 有效的企业营业执照副本复印件,专利证书原件 有效的企业营业执照副本复印件;企业组织机构代码证
平台专属代理事务所将对委托交易全程监督,确保所有交易合同及相关文件合法有效。

发布求购信息