当前位置: 首页 > 知识产权交易 > 专利转让 >

待交易一种卷旧电缆或钢丝绳成型的辅助设备

专利号:CN202122760645.3 已授权

申请日:2022-12-30发布日期:2022-12-30

立即收藏 立即询价 转让价格:询价

专利摘要

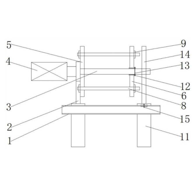
本实用新型公开了一种卷旧电缆或钢丝绳成型的辅助设备,包括底座,所述底座的顶部一侧通过螺栓固定安装有固定法兰支架,所述固定法兰支架的顶端贯通安装有卷筒轴,所述卷筒轴的一端固定安装有电机。该一种卷旧电缆或钢丝绳成型的辅助设备,在进行日常使用的过程中,松开第一销轴和第二销轴,通过调节活动卷筒端板的位置调节成捆电缆或钢丝绳的宽度,将旧电缆或钢丝绳按不同规格缠绕成不同的大小,启动电机带动卷筒轴转动,从而带动活动卷筒端板转动,对旧电缆或钢丝绳进行缠绕,利用电机带动简易卷筒旋转,将旧电缆或钢丝绳卷成成整齐的形状,统一规格尺寸,存放方便美观,不占空间。

交易流程

  • 平台资深顾问将根据买家的需求,提供一对一服务,协助买家挑选到合适的专利。

  • 待买家确认无误后,根据顾问指导进行下单,并签订协议与合同,买家需要支付50%交易款给平台。

  • 平台将负责办理官方变更手续,向国知局提交转让材料。

  • 约10个工作日左右,待买家确认收到专利《变更手续合格通知书》后,向平台支付剩余交易款。

  • 转让成功后,平台会将专利证书原件、专利登记簿副本原件邮寄给买家,同时把交易尾款支付给卖家,保障双方交易顺利。

过户资料

主体资格 转让方提供 受让方提供 平台提供 转让完成,可获得
自然人 身份证复印件,专利证书原件; 身份证复印件
有效个体营业执照
转让申请书
代理委托书
转让协议书
发明人变更声明
专利证书
手续合格通知书
专利登记簿副本
公司 有效的企业营业执照副本复印件,专利证书原件 有效的企业营业执照副本复印件;企业组织机构代码证
平台专属代理事务所将对委托交易全程监督,确保所有交易合同及相关文件合法有效。

发布求购信息