当前位置: 首页 > 知识产权交易 > 专利转让 >

待交易一种给水管生产线用同步自动送料装置

专利号:CN202122821759.4 已授权

申请日:2022-12-30发布日期:2022-12-30

立即收藏 立即询价 转让价格:询价

专利摘要

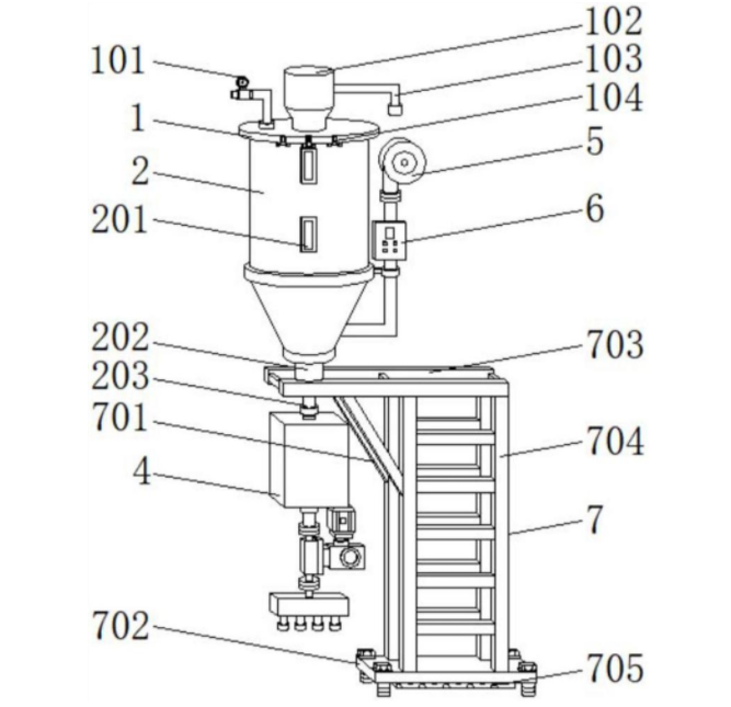
本实用新型公开了一种给水管生产线用同步自动送料装置,包括送料罐、送料腔和安装组件,所述送料罐的顶部活动安装有密封盖,所述送料罐的一侧贯穿设置有进气管,所述进气管的顶部固定安装有风机,所述进气管的表面固定安装有控制按钮,所述送料罐的输出端活动设置有送料腔,所述送料腔的一侧固定安装有安装组件。本实用新型通过在送料罐的输出端活动设置有送料腔,能够利用送料腔将给水管原料导入,然后利用引导块对给水管原料进行引导,接着打开电磁阀将给水管原料导入分流腔的内部,然后利用多个转接头与外接管道进行连接,便于工作人员对多个生产线进行同步自动送料工作,从而提高给水管生产的效率。

交易流程

  • 平台资深顾问将根据买家的需求,提供一对一服务,协助买家挑选到合适的专利。

  • 待买家确认无误后,根据顾问指导进行下单,并签订协议与合同,买家需要支付50%交易款给平台。

  • 平台将负责办理官方变更手续,向国知局提交转让材料。

  • 约10个工作日左右,待买家确认收到专利《变更手续合格通知书》后,向平台支付剩余交易款。

  • 转让成功后,平台会将专利证书原件、专利登记簿副本原件邮寄给买家,同时把交易尾款支付给卖家,保障双方交易顺利。

过户资料

主体资格 转让方提供 受让方提供 平台提供 转让完成,可获得
自然人 身份证复印件,专利证书原件; 身份证复印件
有效个体营业执照
转让申请书
代理委托书
转让协议书
发明人变更声明
专利证书
手续合格通知书
专利登记簿副本
公司 有效的企业营业执照副本复印件,专利证书原件 有效的企业营业执照副本复印件;企业组织机构代码证
平台专属代理事务所将对委托交易全程监督,确保所有交易合同及相关文件合法有效。

发布求购信息