当前位置: 首页 > 知识产权交易 > 专利转让 >

待交易一种焊接工作站自动吸焊烟的机构

专利号:CN202122942218.7 已授权

申请日:2022-12-30发布日期:2022-12-30

立即收藏 立即询价 转让价格:询价

专利摘要

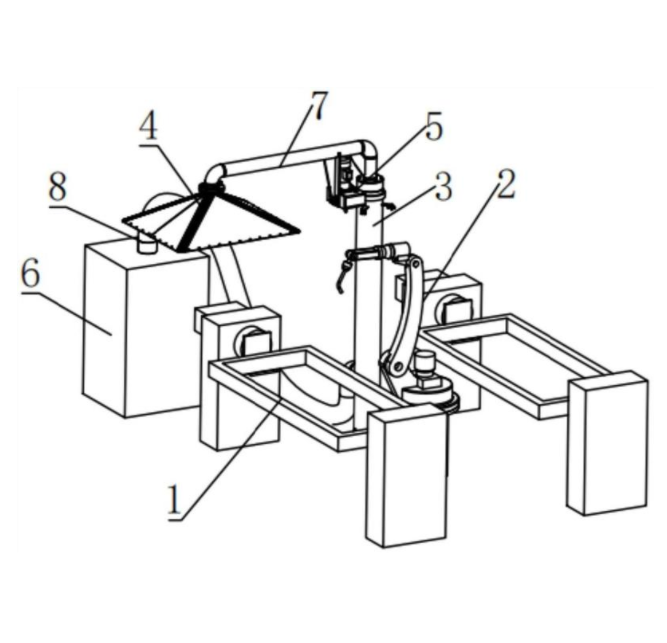
本实用新型公开了一种焊接工作站自动吸焊烟的机构。机构包括支撑管、吸烟罩组件、转动组件、焊烟净化器和PLC控制器,支撑管的上端通过连接管与吸烟罩组件连接,连接管远离吸烟罩组件的一端与支撑管的上端转动连接,转动组件设置在支撑管上端的外侧,并与连接管连接,焊烟净化器通过吸烟管与支撑管连通,转动组件和焊烟净化器均与PLC控制器连接。本实用新型通过PLC控制器控制转动组件和焊烟净化器,增强机构的自动化,使机构能够自动灵活调整,既高效又环保。

交易流程

  • 平台资深顾问将根据买家的需求,提供一对一服务,协助买家挑选到合适的专利。

  • 待买家确认无误后,根据顾问指导进行下单,并签订协议与合同,买家需要支付50%交易款给平台。

  • 平台将负责办理官方变更手续,向国知局提交转让材料。

  • 约10个工作日左右,待买家确认收到专利《变更手续合格通知书》后,向平台支付剩余交易款。

  • 转让成功后,平台会将专利证书原件、专利登记簿副本原件邮寄给买家,同时把交易尾款支付给卖家,保障双方交易顺利。

过户资料

主体资格 转让方提供 受让方提供 平台提供 转让完成,可获得
自然人 身份证复印件,专利证书原件; 身份证复印件
有效个体营业执照
转让申请书
代理委托书
转让协议书
发明人变更声明
专利证书
手续合格通知书
专利登记簿副本
公司 有效的企业营业执照副本复印件,专利证书原件 有效的企业营业执照副本复印件;企业组织机构代码证
平台专属代理事务所将对委托交易全程监督,确保所有交易合同及相关文件合法有效。

发布求购信息