当前位置: 首页 > 知识产权交易 > 专利转让 >

待交易一种迷宫密封回油装置

专利号:CN202122992417.9 已授权

申请日:2022-12-30发布日期:2022-12-30

立即收藏 立即询价 转让价格:询价

专利摘要

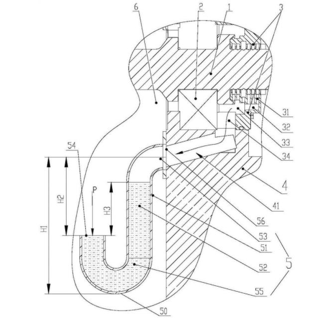
本实用新型公开了一种迷宫密封回油装置,包括贯穿设置在齿轮箱箱体内的转子组件、篦齿气封、设置在齿轮箱箱体的内腔体内的回油储存组件和设置在齿轮箱箱体的输出侧壳壁内上且位于轴承下侧的回油通道,所述转子组件的输入端连接在齿轮箱箱体的输入侧侧壁上,转子组件的输出端的外壁通过轴承连接在齿轮箱箱体的输出侧侧壁上,在轴承的输出侧的转子组件上设置所述篦齿气封,在转子组件的输出侧通过篦齿气封的迷宫间隙通道、回油通道与齿轮箱箱体的内壁部密封连通,回油储存组件的末端呈低于首端设置在齿轮箱箱体的内腔内。本实用新型解决了转子组件由于搅油、升温、气体泄漏等导致齿轮箱内部腔压升高而造成的迷宫密封失效漏油问题。

交易流程

  • 平台资深顾问将根据买家的需求,提供一对一服务,协助买家挑选到合适的专利。

  • 待买家确认无误后,根据顾问指导进行下单,并签订协议与合同,买家需要支付50%交易款给平台。

  • 平台将负责办理官方变更手续,向国知局提交转让材料。

  • 约10个工作日左右,待买家确认收到专利《变更手续合格通知书》后,向平台支付剩余交易款。

  • 转让成功后,平台会将专利证书原件、专利登记簿副本原件邮寄给买家,同时把交易尾款支付给卖家,保障双方交易顺利。

过户资料

主体资格 转让方提供 受让方提供 平台提供 转让完成,可获得
自然人 身份证复印件,专利证书原件; 身份证复印件
有效个体营业执照
转让申请书
代理委托书
转让协议书
发明人变更声明
专利证书
手续合格通知书
专利登记簿副本
公司 有效的企业营业执照副本复印件,专利证书原件 有效的企业营业执照副本复印件;企业组织机构代码证
平台专属代理事务所将对委托交易全程监督,确保所有交易合同及相关文件合法有效。

发布求购信息