当前位置: 首页 > 知识产权交易 > 专利转让 >

待交易一种用于户外的电力箱

专利号:CN201921368179.0 已授权

申请日:2023-01-03发布日期:2023-01-03

立即收藏 立即询价 转让价格:询价

专利摘要

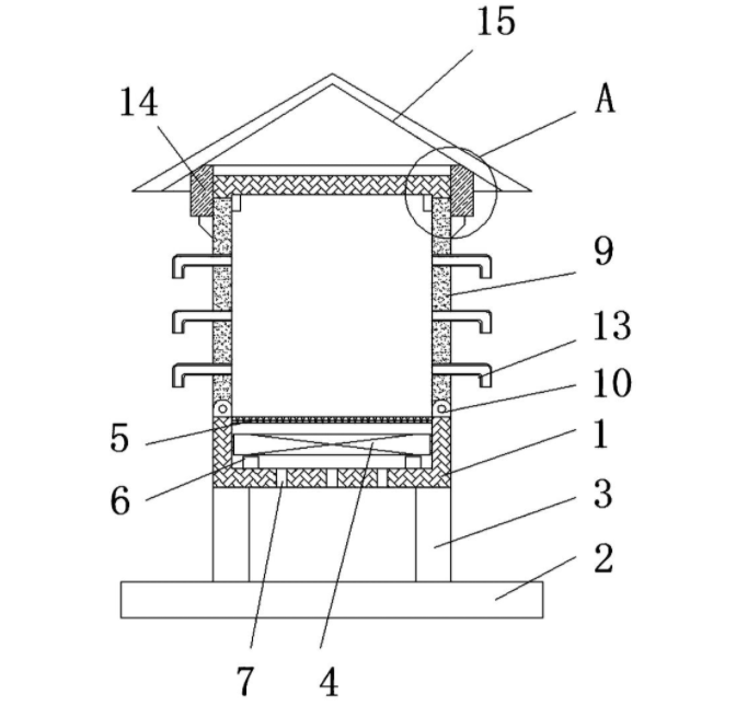
本实用新型公开了一种用于户外的电力箱,包括箱体,所述箱体的底部设有底板,所述箱体与底板之间通过支撑腿相固定,所述箱体的内部设有散热扇与网孔板,所述散热扇的底部通过垫块与箱体内底部相固定,所述箱体的内部开设有通气孔,所述网孔板的侧面与箱体的内壁相固定,所述箱体的侧面开设有开口,所述箱体的内部设有开关门,所述开关门的底部通过铰座与开口的边沿活动连接,所述开关门远离铰座的侧面固定有支撑块。本实用新型箱体内部的热气通过通气管向外散出,起到良好的散热性,另外体的四个侧面均可以得以打开,从而便于维修人员的检修或者维护,操作简单,有利于提高工作效率,具有良好的实用意义。

交易流程

  • 平台资深顾问将根据买家的需求,提供一对一服务,协助买家挑选到合适的专利。

  • 待买家确认无误后,根据顾问指导进行下单,并签订协议与合同,买家需要支付50%交易款给平台。

  • 平台将负责办理官方变更手续,向国知局提交转让材料。

  • 约10个工作日左右,待买家确认收到专利《变更手续合格通知书》后,向平台支付剩余交易款。

  • 转让成功后,平台会将专利证书原件、专利登记簿副本原件邮寄给买家,同时把交易尾款支付给卖家,保障双方交易顺利。

过户资料

主体资格 转让方提供 受让方提供 平台提供 转让完成,可获得
自然人 身份证复印件,专利证书原件; 身份证复印件
有效个体营业执照
转让申请书
代理委托书
转让协议书
发明人变更声明
专利证书
手续合格通知书
专利登记簿副本
公司 有效的企业营业执照副本复印件,专利证书原件 有效的企业营业执照副本复印件;企业组织机构代码证
平台专属代理事务所将对委托交易全程监督,确保所有交易合同及相关文件合法有效。

发布求购信息