当前位置: 首页 > 知识产权交易 > 专利转让 >

待交易一种库仑力牵引反冲间歇遮断电弧避雷针

专利号:CN202020297671.X 已授权

申请日:2023-01-04发布日期:2023-01-04

立即收藏 立即询价 转让价格:询价

专利摘要

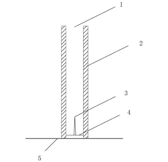
本实用新型公开了一种库仑力牵引反冲间歇遮断电弧避雷针,属于防雷灭弧领域,避雷针包括一根内部空心的反冲管,反冲管底部设置在电极板上,反冲管的内部底端设置有接闪电极和尖端电极,尖端电极设置在接闪电极上,接闪电极与电极板接触设置。本实用新型严格管控电弧路径。金属电极板形成巨大感应电荷并在尖端电极产生大量感应电荷,从库仑力牵引和上行先导两个维度实现对雷击闪络路径的控制。同步灭弧。电弧接闪的同时利用反冲能量对电弧进行遮断。

交易流程

  • 平台资深顾问将根据买家的需求,提供一对一服务,协助买家挑选到合适的专利。

  • 待买家确认无误后,根据顾问指导进行下单,并签订协议与合同,买家需要支付50%交易款给平台。

  • 平台将负责办理官方变更手续,向国知局提交转让材料。

  • 约10个工作日左右,待买家确认收到专利《变更手续合格通知书》后,向平台支付剩余交易款。

  • 转让成功后,平台会将专利证书原件、专利登记簿副本原件邮寄给买家,同时把交易尾款支付给卖家,保障双方交易顺利。

过户资料

主体资格 转让方提供 受让方提供 平台提供 转让完成,可获得
自然人 身份证复印件,专利证书原件; 身份证复印件
有效个体营业执照
转让申请书
代理委托书
转让协议书
发明人变更声明
专利证书
手续合格通知书
专利登记簿副本
公司 有效的企业营业执照副本复印件,专利证书原件 有效的企业营业执照副本复印件;企业组织机构代码证
平台专属代理事务所将对委托交易全程监督,确保所有交易合同及相关文件合法有效。

发布求购信息