当前位置: 首页 > 知识产权交易 > 专利转让 >

待交易一种液态复合肥施肥装置

专利号:CN202020926752.1 已授权

申请日:2023-01-13发布日期:2023-01-13

立即收藏 立即询价 转让价格:询价

专利摘要

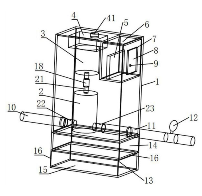
本实用新型公开了一种液态复合肥施肥装置,施肥装置包括壳体和设于壳体内的水泵本体,水泵本体固定连接在壳体的底部内侧壁上,水泵本体包括泵轴、进料口和出料口,水泵本体上方设有电机,泵轴通过联轴器与电机的输出轴固定连接,电机上端设有电机调速器,电机调速器与所述电机电性连接,电机右侧设有电源,电源与电机调速器电性连接,进料口处设有进料管,出料口处设有出料管。本实用新型的施肥装置能将液态肥料喷洒到农作物上,并能根据需求控制液体肥料的施用量,减少资源浪费,防止因施肥过量导致的农作物坏死,省时又省力,同时还可以用于液态肥料的搅拌,减少液态肥料的分层现象。

交易流程

  • 平台资深顾问将根据买家的需求,提供一对一服务,协助买家挑选到合适的专利。

  • 待买家确认无误后,根据顾问指导进行下单,并签订协议与合同,买家需要支付50%交易款给平台。

  • 平台将负责办理官方变更手续,向国知局提交转让材料。

  • 约10个工作日左右,待买家确认收到专利《变更手续合格通知书》后,向平台支付剩余交易款。

  • 转让成功后,平台会将专利证书原件、专利登记簿副本原件邮寄给买家,同时把交易尾款支付给卖家,保障双方交易顺利。

过户资料

主体资格 转让方提供 受让方提供 平台提供 转让完成,可获得
自然人 身份证复印件,专利证书原件; 身份证复印件
有效个体营业执照
转让申请书
代理委托书
转让协议书
发明人变更声明
专利证书
手续合格通知书
专利登记簿副本
公司 有效的企业营业执照副本复印件,专利证书原件 有效的企业营业执照副本复印件;企业组织机构代码证
平台专属代理事务所将对委托交易全程监督,确保所有交易合同及相关文件合法有效。

发布求购信息