当前位置: 首页 > 知识产权交易 > 专利转让 >

待交易一种固定式给料装置

专利号:CN202020436450.6 已授权

申请日:2023-01-13发布日期:2023-01-13

立即收藏 立即询价 转让价格:询价

专利摘要

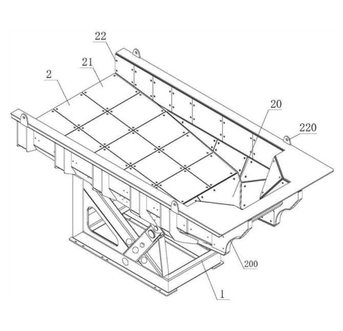
本实用新型公开了一种固定式给料装置,包括承载支架和给料斗,所述给料斗交接固定在承载支架上,所述给料斗呈槽状,该给料斗的前端和上端为开口状态,所述给料斗的后端底部与侧部沿给料斗的中心收缩,在给料斗的后端底部设有出料口,所述给料斗由前端至后端底部的出料口呈逐渐倾斜状态设置,在所述给料斗内的底部和侧部设置有耐磨板,该耐磨板由若干块焊达钢板紧贴分布在给料斗内的底部和侧部上,在所述出料口的外壁边缘设置有出料挡板。本实用新型的给料装置能有效改善了给料装置安装的稳定性和可靠性,供料快速简便,吊运和调节安装也必较方便,不仅可以承载、积累一定高度的砂石物料,也可以保护给料装置不受磨损,延长了使用寿命。

交易流程

  • 平台资深顾问将根据买家的需求,提供一对一服务,协助买家挑选到合适的专利。

  • 待买家确认无误后,根据顾问指导进行下单,并签订协议与合同,买家需要支付50%交易款给平台。

  • 平台将负责办理官方变更手续,向国知局提交转让材料。

  • 约10个工作日左右,待买家确认收到专利《变更手续合格通知书》后,向平台支付剩余交易款。

  • 转让成功后,平台会将专利证书原件、专利登记簿副本原件邮寄给买家,同时把交易尾款支付给卖家,保障双方交易顺利。

过户资料

主体资格 转让方提供 受让方提供 平台提供 转让完成,可获得
自然人 身份证复印件,专利证书原件; 身份证复印件
有效个体营业执照
转让申请书
代理委托书
转让协议书
发明人变更声明
专利证书
手续合格通知书
专利登记簿副本
公司 有效的企业营业执照副本复印件,专利证书原件 有效的企业营业执照副本复印件;企业组织机构代码证
平台专属代理事务所将对委托交易全程监督,确保所有交易合同及相关文件合法有效。

发布求购信息