当前位置: 首页 > 知识产权交易 > 专利转让 >

待交易一种蕉科植物萃取用分离装置

专利号:CN202020817713.8 已授权

申请日:2023-01-16发布日期:2023-01-16

立即收藏 立即询价 转让价格:询价

专利摘要

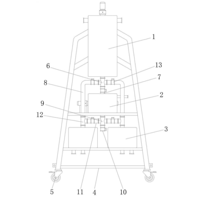
本实用新型公开了一种蕉科植物萃取用分离装置,涉及分离设备技术领域。本实用新型包括第一萃取筒、第二萃取筒和分离筒,所述第一萃取筒、第二萃取筒和分离筒均固定在支撑架上,所述支撑架的底部设置有带刹万向轮,带刹万向轮的设置使得该装置便于移动,所述第一萃取筒设置在第二萃取筒的上方,所述分离筒设置有两个,两个所述分离筒对称设置在第二萃取筒的下方,所述第一萃取筒的底部出口固定有第一四通。本实用新型通过设置第一萃取筒、第二萃取筒和两个分离筒,二级萃取的设计使得该装置的萃取精度得到大大提高,双分离筒的设计使得该装置的分离效果得到大大提高,不同液相采用不同的分离筒进行分离,避免两种液相混合。

交易流程

  • 平台资深顾问将根据买家的需求,提供一对一服务,协助买家挑选到合适的专利。

  • 待买家确认无误后,根据顾问指导进行下单,并签订协议与合同,买家需要支付50%交易款给平台。

  • 平台将负责办理官方变更手续,向国知局提交转让材料。

  • 约10个工作日左右,待买家确认收到专利《变更手续合格通知书》后,向平台支付剩余交易款。

  • 转让成功后,平台会将专利证书原件、专利登记簿副本原件邮寄给买家,同时把交易尾款支付给卖家,保障双方交易顺利。

过户资料

主体资格 转让方提供 受让方提供 平台提供 转让完成,可获得
自然人 身份证复印件,专利证书原件; 身份证复印件
有效个体营业执照
转让申请书
代理委托书
转让协议书
发明人变更声明
专利证书
手续合格通知书
专利登记簿副本
公司 有效的企业营业执照副本复印件,专利证书原件 有效的企业营业执照副本复印件;企业组织机构代码证
平台专属代理事务所将对委托交易全程监督,确保所有交易合同及相关文件合法有效。

发布求购信息