当前位置: 首页 > 知识产权交易 > 专利转让 >

待交易一种蕉科植物液萃取切段装置

专利号:CN202020818413.1 已授权

申请日:2023-01-16发布日期:2023-01-16

立即收藏 立即询价 转让价格:询价

专利摘要

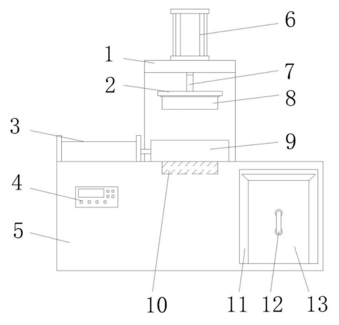
本实用新型公开了一种蕉科植物液萃取切段装置,涉及蕉科植物制备技术领域。本实用新型包括伸缩缸、切段平台、液压缸、刀架和收集筒,切段平台的顶部固定连接有固定座,固定座的顶部固定连接有液压缸,液压缸的下方固定连接有压板,压板的下方通过螺钉可拆卸连接有刀架,固定座一侧的切段平台上固定连接有伸缩缸,伸缩缸的输出端固定连接有放置框,切段平台的前侧开设有放置腔,放置腔内设有收集筒。本实用新型通过设置压板、伸缩缸、液压缸、刀架、放置框、收集筒和螺钉,解决了蕉科植物切段装置在切段过程中无法对切段后的蕉科植物自动收集和切段装置内部的刀架数量不便调整的问题。

交易流程

  • 平台资深顾问将根据买家的需求,提供一对一服务,协助买家挑选到合适的专利。

  • 待买家确认无误后,根据顾问指导进行下单,并签订协议与合同,买家需要支付50%交易款给平台。

  • 平台将负责办理官方变更手续,向国知局提交转让材料。

  • 约10个工作日左右,待买家确认收到专利《变更手续合格通知书》后,向平台支付剩余交易款。

  • 转让成功后,平台会将专利证书原件、专利登记簿副本原件邮寄给买家,同时把交易尾款支付给卖家,保障双方交易顺利。

过户资料

主体资格 转让方提供 受让方提供 平台提供 转让完成,可获得
自然人 身份证复印件,专利证书原件; 身份证复印件
有效个体营业执照
转让申请书
代理委托书
转让协议书
发明人变更声明
专利证书
手续合格通知书
专利登记簿副本
公司 有效的企业营业执照副本复印件,专利证书原件 有效的企业营业执照副本复印件;企业组织机构代码证
平台专属代理事务所将对委托交易全程监督,确保所有交易合同及相关文件合法有效。

发布求购信息