当前位置: 首页 > 知识产权交易 > 专利转让 >

待交易一种发酵面团用的微生物扩繁发酵装置

专利号:CN202020844734.9 已授权

申请日:2023-01-16发布日期:2023-01-16

立即收藏 立即询价 转让价格:询价

专利摘要

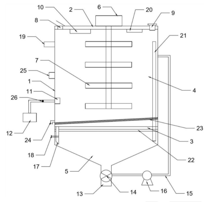
本实用新型公开了一种发酵面团用的微生物扩繁发酵装置,包括扩繁罐体,罐盖,隔离板,扩繁区,存菌区,电机,搅拌桨,进料口,单向排气阀,电热棒,微孔曝气头,空气泵,出液口,三通阀,回流管,回流泵,转移管,调节阀,温度控制器,紫外光灯,观察窗,隔热垫,过滤网,除杂口,计时报警器,微孔过滤膜。本实用新型在微生物扩繁时只需要添加各种菌种原料和液体培养基,并且可以预设不同菌剂需要的温度、需氧量等进行活化扩繁。在2h内可以将菌液活化并且扩繁,能够在面团发酵场所就地激活菌种并且扩繁,便于就地使用,便利性高。本实用新型结构简单,使用方便,扩繁条件稳定,菌种质量好,菌种生长周期短,有很强的操作性和推广前景。

交易流程

  • 平台资深顾问将根据买家的需求,提供一对一服务,协助买家挑选到合适的专利。

  • 待买家确认无误后,根据顾问指导进行下单,并签订协议与合同,买家需要支付50%交易款给平台。

  • 平台将负责办理官方变更手续,向国知局提交转让材料。

  • 约10个工作日左右,待买家确认收到专利《变更手续合格通知书》后,向平台支付剩余交易款。

  • 转让成功后,平台会将专利证书原件、专利登记簿副本原件邮寄给买家,同时把交易尾款支付给卖家,保障双方交易顺利。

过户资料

主体资格 转让方提供 受让方提供 平台提供 转让完成,可获得
自然人 身份证复印件,专利证书原件; 身份证复印件
有效个体营业执照
转让申请书
代理委托书
转让协议书
发明人变更声明
专利证书
手续合格通知书
专利登记簿副本
公司 有效的企业营业执照副本复印件,专利证书原件 有效的企业营业执照副本复印件;企业组织机构代码证
平台专属代理事务所将对委托交易全程监督,确保所有交易合同及相关文件合法有效。

发布求购信息