当前位置: 首页 > 知识产权交易 > 专利转让 >

待交易一种用于发酵食品的多功能食品发酵器

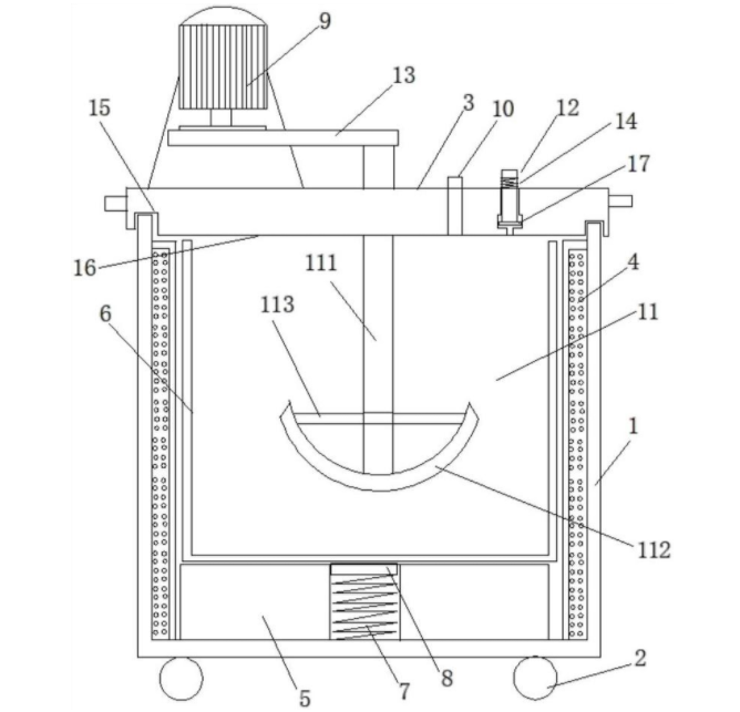
专利号:CN202020869648.3 已授权

申请日:2023-01-16发布日期:2023-01-16

立即收藏 立即询价 转让价格:询价

专利摘要

本实用新型公开了一种用于发酵食品的多功能食品发酵器,包括壳体、脚轮和密封盖,所述脚轮固定设置在壳体的底部,所述壳体为上部开口的中空圆筒状,所述密封盖适配盖在壳体的上部开口,该壳体内侧壁上设有保温层,壳体中部由下往上依次设有加热圆盘和发酵罐,所述加热圆盘的中部设有圆形孔洞,该孔洞内底部固定设有弹簧,该弹簧上端设有圆台,所述密封盖的设有电机、放气口、搅拌桨和浮标,所述浮标通过在密封盖上部设置环绕弹簧将浮标可活动地卡设在密封盖内。本实用新型的装置能够保证微生物发酵时保温且压力情况可视化,且操作简单,便于使用。

交易流程

  • 平台资深顾问将根据买家的需求,提供一对一服务,协助买家挑选到合适的专利。

  • 待买家确认无误后,根据顾问指导进行下单,并签订协议与合同,买家需要支付50%交易款给平台。

  • 平台将负责办理官方变更手续,向国知局提交转让材料。

  • 约10个工作日左右,待买家确认收到专利《变更手续合格通知书》后,向平台支付剩余交易款。

  • 转让成功后,平台会将专利证书原件、专利登记簿副本原件邮寄给买家,同时把交易尾款支付给卖家,保障双方交易顺利。

过户资料

主体资格 转让方提供 受让方提供 平台提供 转让完成,可获得
自然人 身份证复印件,专利证书原件; 身份证复印件
有效个体营业执照
转让申请书
代理委托书
转让协议书
发明人变更声明
专利证书
手续合格通知书
专利登记簿副本
公司 有效的企业营业执照副本复印件,专利证书原件 有效的企业营业执照副本复印件;企业组织机构代码证
平台专属代理事务所将对委托交易全程监督,确保所有交易合同及相关文件合法有效。

发布求购信息