当前位置: 首页 > 知识产权交易 > 专利转让 >

待交易一种基于红外线人防设备检测辅助卡具

专利号:CN202021189473.8 已授权

申请日:2023-01-17发布日期:2023-01-17

立即收藏 立即询价 转让价格:询价

专利摘要

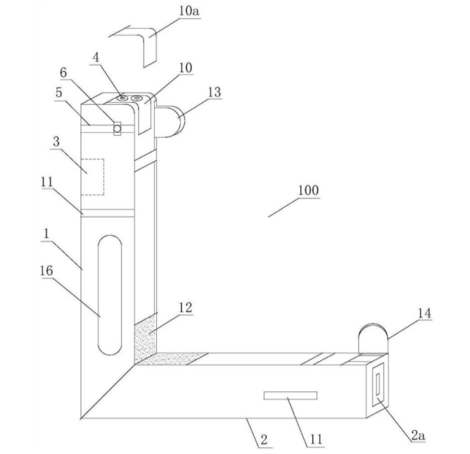
实用新型公开了一种基于红外线人防设备检测辅助卡具,所述辅助卡具包括L形卡具本体,该卡具本体包括呈直角连接的纵向支撑臂和横向支撑臂,在纵向支撑臂的侧壁内且靠近自由端一侧嵌入设置有控制面板,在所述纵向支撑臂的自由端部设置有缺口槽,在缺口槽内设置有红外线检测头,在纵向支撑臂的正侧面和/或横向支撑臂的正侧面嵌入设置有水平传感器,在纵向支撑臂与横向支撑臂垂直相连接的直角内侧壁上嵌入设置有第一永磁体,在纵向支撑臂的自由端部后侧面设置有第一限位块,在横向支撑臂的自由端部后侧面设置有第二限位块,在第一限位块和第二限位块的外侧表面嵌入设置有第二永磁体。本实用新型能方便地放置在防护密闭门表面进行各种参数测量。

交易流程

  • 平台资深顾问将根据买家的需求,提供一对一服务,协助买家挑选到合适的专利。

  • 待买家确认无误后,根据顾问指导进行下单,并签订协议与合同,买家需要支付50%交易款给平台。

  • 平台将负责办理官方变更手续,向国知局提交转让材料。

  • 约10个工作日左右,待买家确认收到专利《变更手续合格通知书》后,向平台支付剩余交易款。

  • 转让成功后,平台会将专利证书原件、专利登记簿副本原件邮寄给买家,同时把交易尾款支付给卖家,保障双方交易顺利。

过户资料

主体资格 转让方提供 受让方提供 平台提供 转让完成,可获得
自然人 身份证复印件,专利证书原件; 身份证复印件
有效个体营业执照
转让申请书
代理委托书
转让协议书
发明人变更声明
专利证书
手续合格通知书
专利登记簿副本
公司 有效的企业营业执照副本复印件,专利证书原件 有效的企业营业执照副本复印件;企业组织机构代码证
平台专属代理事务所将对委托交易全程监督,确保所有交易合同及相关文件合法有效。

发布求购信息