当前位置: 首页 > 知识产权交易 > 专利转让 >

待交易一种多功能用途脱模器

专利号:CN202021387169.4 已授权

申请日:2023-01-28发布日期:2023-01-28

立即收藏 立即询价 转让价格:询价

专利摘要

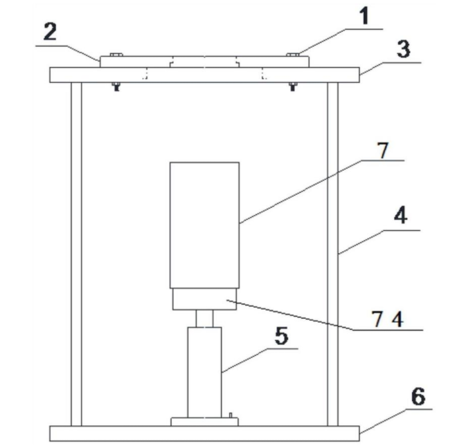
本实用新型公开了一种多功能用途脱模器,属于脱模器领域,包括带有孔洞铁板、反力架上顶板、立柱、液压千斤顶、反力架下底板和脱模器装置。通过在反力架主体处添加一块打孔铁板使用螺栓将其与反力架连接形成一种可制作规定规格的无侧限抗压试块,作用是可将添加在模具中已计算准确的无机结合料一次静压成型,根据模具两端设置好的长度可将试块精确的按照相关规格进行成型。成型后利用液压千斤顶将顶块和模具向上抬升,上升到一定高度后千斤顶和反力架顶板中设置的圆孔可将孔口固定,使得圆筒内试块更好的进行脱模。主要采用简易反力架制成一种多功能用途的脱模器,该产品简单易做,方便使用,制作试样和脱样效果优良。

交易流程

  • 平台资深顾问将根据买家的需求,提供一对一服务,协助买家挑选到合适的专利。

  • 待买家确认无误后,根据顾问指导进行下单,并签订协议与合同,买家需要支付50%交易款给平台。

  • 平台将负责办理官方变更手续,向国知局提交转让材料。

  • 约10个工作日左右,待买家确认收到专利《变更手续合格通知书》后,向平台支付剩余交易款。

  • 转让成功后,平台会将专利证书原件、专利登记簿副本原件邮寄给买家,同时把交易尾款支付给卖家,保障双方交易顺利。

过户资料

主体资格 转让方提供 受让方提供 平台提供 转让完成,可获得
自然人 身份证复印件,专利证书原件; 身份证复印件
有效个体营业执照
转让申请书
代理委托书
转让协议书
发明人变更声明
专利证书
手续合格通知书
专利登记簿副本
公司 有效的企业营业执照副本复印件,专利证书原件 有效的企业营业执照副本复印件;企业组织机构代码证
平台专属代理事务所将对委托交易全程监督,确保所有交易合同及相关文件合法有效。

发布求购信息