当前位置: 首页 > 知识产权交易 > 专利转让 >

待交易一种调控微生物对数生长期的污水处理系统

专利号:CN202021249707.3 已授权

申请日:2023-01-28发布日期:2023-01-28

立即收藏 立即询价 转让价格:询价

专利摘要

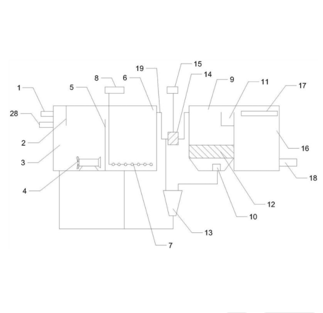
本实用新型公开一种调控微生物对数期生长的污水处理系统,包括进水管,进水挡板,A级生化池,潜水搅拌机,溢流板,O级生化池,微孔曝气头,曝气装置,斜管沉淀池,污泥回流泵,溢流槽,斜管,旋流离心分离器,管道混合器,加药装置,植物池,浮床,出水管,混合水管,尼龙网,漂浮管,固定杆,种植盆,陶瓷环层,麦饭石层,沸石层,无纺布层,进料口。本实用新型在污泥回流中设置了旋流离心分离器,可将附着有高活性微生物的微米级高流动载体通过离心力分离并回流至生化池,使生化池内微生物始终处于对数生长期,保持极强的微生物活性和新陈代谢作用。本实用新型结构简单,设计合理,能有效净化污水且缩短污水处理时间,有良好的推广应用前景。

交易流程

  • 平台资深顾问将根据买家的需求,提供一对一服务,协助买家挑选到合适的专利。

  • 待买家确认无误后,根据顾问指导进行下单,并签订协议与合同,买家需要支付50%交易款给平台。

  • 平台将负责办理官方变更手续,向国知局提交转让材料。

  • 约10个工作日左右,待买家确认收到专利《变更手续合格通知书》后,向平台支付剩余交易款。

  • 转让成功后,平台会将专利证书原件、专利登记簿副本原件邮寄给买家,同时把交易尾款支付给卖家,保障双方交易顺利。

过户资料

主体资格 转让方提供 受让方提供 平台提供 转让完成,可获得
自然人 身份证复印件,专利证书原件; 身份证复印件
有效个体营业执照
转让申请书
代理委托书
转让协议书
发明人变更声明
专利证书
手续合格通知书
专利登记簿副本
公司 有效的企业营业执照副本复印件,专利证书原件 有效的企业营业执照副本复印件;企业组织机构代码证
平台专属代理事务所将对委托交易全程监督,确保所有交易合同及相关文件合法有效。

发布求购信息