当前位置: 首页 > 知识产权交易 > 专利转让 >

待交易一种眼药水的生产系统

专利号:CN202021202569.3 已授权

申请日:2023-01-28发布日期:2023-01-28

立即收藏 立即询价 转让价格:询价

专利摘要

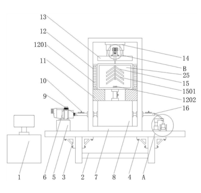
本实用新型公开了一种眼药水的生产系统,涉及保健型药物技术领域。本实用新型包括储液罐、恒温机构、搅拌机构和配液罐,恒温机构包括的加热棒固定连接在安装架内部两侧,且加热棒之间设置有配液罐,配液罐内部底端固定连接有温度传感器,且配液罐设置在托块上侧,托块固定连接在安装架两侧中央位置,且安装架内部底端设置有储液罐,储液罐与配液罐之间贯穿连接有连接管,且连接管外侧固定连接有电磁控制阀,搅拌机构包括的伺服电机一端固定连接有轴杆,且轴杆通过联轴器转动连接有转杆,转杆一端外侧固定连接有搅拌棒。本实用新型通过设置恒温机构和搅拌机构,具有提高眼药水本体配制效率以及便于控制眼药水本体配制过程中液体温度的优点。

交易流程

  • 平台资深顾问将根据买家的需求,提供一对一服务,协助买家挑选到合适的专利。

  • 待买家确认无误后,根据顾问指导进行下单,并签订协议与合同,买家需要支付50%交易款给平台。

  • 平台将负责办理官方变更手续,向国知局提交转让材料。

  • 约10个工作日左右,待买家确认收到专利《变更手续合格通知书》后,向平台支付剩余交易款。

  • 转让成功后,平台会将专利证书原件、专利登记簿副本原件邮寄给买家,同时把交易尾款支付给卖家,保障双方交易顺利。

过户资料

主体资格 转让方提供 受让方提供 平台提供 转让完成,可获得
自然人 身份证复印件,专利证书原件; 身份证复印件
有效个体营业执照
转让申请书
代理委托书
转让协议书
发明人变更声明
专利证书
手续合格通知书
专利登记簿副本
公司 有效的企业营业执照副本复印件,专利证书原件 有效的企业营业执照副本复印件;企业组织机构代码证
平台专属代理事务所将对委托交易全程监督,确保所有交易合同及相关文件合法有效。

发布求购信息