当前位置: 首页 > 知识产权交易 > 专利转让 >

待交易一种超短焦正投的抗光投影幕

专利号:CN202021621026.5 已授权

申请日:2023-01-31发布日期:2023-01-31

立即收藏 立即询价 转让价格:询价

专利摘要

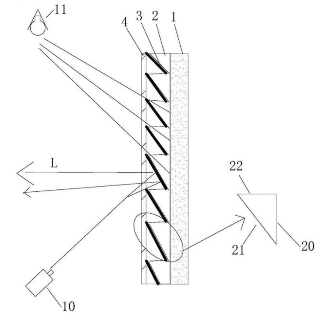
本实用新型公开了一种超短焦正投的抗光投影幕,所述抗光投影幕包括基材层、线性光栅层、金属反光层和表面硬化层,在所述基材层的表面依次向外设置所述线性光栅层和金属反光层,所述线性光栅层为呈条形纹理状结构间隔分布在基材层表面,每条条形纹理状结之间的横断面呈接近90°的连续三角形锯齿纹理结构,该三角形锯齿纹理结构具有平行粘结在基材层表面的水平底面、沿表面硬化层一侧呈倾斜设置的倾斜反光面和接近垂直于基材层表面的竖直向断面,在所述倾斜反光面上粘结所述金属反光层,本实用新型有效的解决了传统黑栅屏幕表面脆弱以及纹理外露的问题同时,具有高增益、高对比度、高色彩还原度的优点。

交易流程

  • 平台资深顾问将根据买家的需求,提供一对一服务,协助买家挑选到合适的专利。

  • 待买家确认无误后,根据顾问指导进行下单,并签订协议与合同,买家需要支付50%交易款给平台。

  • 平台将负责办理官方变更手续,向国知局提交转让材料。

  • 约10个工作日左右,待买家确认收到专利《变更手续合格通知书》后,向平台支付剩余交易款。

  • 转让成功后,平台会将专利证书原件、专利登记簿副本原件邮寄给买家,同时把交易尾款支付给卖家,保障双方交易顺利。

过户资料

主体资格 转让方提供 受让方提供 平台提供 转让完成,可获得
自然人 身份证复印件,专利证书原件; 身份证复印件
有效个体营业执照
转让申请书
代理委托书
转让协议书
发明人变更声明
专利证书
手续合格通知书
专利登记簿副本
公司 有效的企业营业执照副本复印件,专利证书原件 有效的企业营业执照副本复印件;企业组织机构代码证
平台专属代理事务所将对委托交易全程监督,确保所有交易合同及相关文件合法有效。

发布求购信息