当前位置: 首页 > 知识产权交易 > 专利转让 >

待交易一种五金废液萃取循环利用装置

专利号:CN201821707486.2 已授权

申请日:2023-02-01发布日期:2023-02-01

立即收藏 立即询价 转让价格:询价

专利摘要

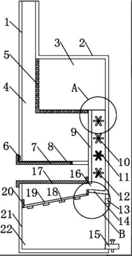
本实用新型公开了一种五金废液萃取循环利用装置,包括进液管、萃取箱、二次进液管和储液箱,所述进液管连通设在萃取箱的左端上表面,萃取箱呈矩形箱体状结构,萃取箱的右下端连通设有二次进液管,所述二次进液管的上端位于萃取箱的内部中间位置,本实用新型中五金废液从进液管处依次进入萃取箱和储液箱中,可通过萃取箱中的滤网和储液箱中的过滤棉层进行一次初步的过滤和一次细致的过滤,可滤除五金废液中的五金杂质,达到不污染环境,五金杂质合理二次利用,方便循环使用的目的,本实用新型中萃取箱和储液箱上分别设有下端密封盖和上端密封盖,方便打开和清理,使用方便,适合推广。

交易流程

  • 平台资深顾问将根据买家的需求,提供一对一服务,协助买家挑选到合适的专利。

  • 待买家确认无误后,根据顾问指导进行下单,并签订协议与合同,买家需要支付50%交易款给平台。

  • 平台将负责办理官方变更手续,向国知局提交转让材料。

  • 约10个工作日左右,待买家确认收到专利《变更手续合格通知书》后,向平台支付剩余交易款。

  • 转让成功后,平台会将专利证书原件、专利登记簿副本原件邮寄给买家,同时把交易尾款支付给卖家,保障双方交易顺利。

过户资料

主体资格 转让方提供 受让方提供 平台提供 转让完成,可获得
自然人 身份证复印件,专利证书原件; 身份证复印件
有效个体营业执照
转让申请书
代理委托书
转让协议书
发明人变更声明
专利证书
手续合格通知书
专利登记簿副本
公司 有效的企业营业执照副本复印件,专利证书原件 有效的企业营业执照副本复印件;企业组织机构代码证
平台专属代理事务所将对委托交易全程监督,确保所有交易合同及相关文件合法有效。

发布求购信息