当前位置: 首页 > 知识产权交易 > 专利转让 >

待交易一种电缆计数装置

专利号:CN202022214747.0 已授权

申请日:2023-02-01发布日期:2023-02-01

立即收藏 立即询价 转让价格:询价

专利摘要

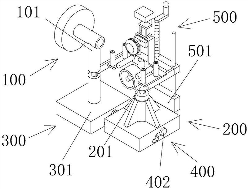
本实用新型公开了一种电缆计数装置,涉及电缆制造技术领域。本实用新型包括放置机构、计数机构、两个固定机构、两个移动机构和升降机构,所述放置机构包括第一支撑杆,所述第一支撑杆底端沿其竖直中线开设有第一卡接槽,所述计数机构包括第二支撑杆,所述第二支撑杆底端沿其竖直中线开设有第二卡接槽,所述固定机构包括固定底盘。本实用新型通过永磁铁对滑杆进行固定,然后移动放置机构和计数机构至合适位置后,通过滑杆带动滚轮移动至滑槽顶端通过重力对其固定,从而不会导致安装困难,通过转动摇把带动螺杆转动,通过螺杆转动带动固定板沿着圆杆上下移动,从而使得该电缆计数装置可以进行高度调节,便于操作人员实际使用。

交易流程

  • 平台资深顾问将根据买家的需求,提供一对一服务,协助买家挑选到合适的专利。

  • 待买家确认无误后,根据顾问指导进行下单,并签订协议与合同,买家需要支付50%交易款给平台。

  • 平台将负责办理官方变更手续,向国知局提交转让材料。

  • 约10个工作日左右,待买家确认收到专利《变更手续合格通知书》后,向平台支付剩余交易款。

  • 转让成功后,平台会将专利证书原件、专利登记簿副本原件邮寄给买家,同时把交易尾款支付给卖家,保障双方交易顺利。

过户资料

主体资格 转让方提供 受让方提供 平台提供 转让完成,可获得
自然人 身份证复印件,专利证书原件; 身份证复印件
有效个体营业执照
转让申请书
代理委托书
转让协议书
发明人变更声明
专利证书
手续合格通知书
专利登记簿副本
公司 有效的企业营业执照副本复印件,专利证书原件 有效的企业营业执照副本复印件;企业组织机构代码证
平台专属代理事务所将对委托交易全程监督,确保所有交易合同及相关文件合法有效。

发布求购信息