当前位置: 首页 > 知识产权交易 > 专利转让 >

待交易一种用于水处理载体材料的选择分离装置

专利号:CN202021241968.0 已授权

申请日:2023-02-01发布日期:2023-02-01

立即收藏 立即询价 转让价格:询价

专利摘要

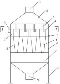
本实用新型涉及一种用于水处理载体材料的选择分离装置,包括架设于支架上的装置本体,所述装置本体内设置有进水室、旋流室、集料室及溢流室,所述溢流室设置在进水室的上方,所述旋流室设置在进水室的下方,所述集料室设置在旋流室的下方;所述溢流室的顶端设置有出水口,所述集料室的底端设置有排料口。本实用新型结构简单,组装方便,占用空间小,分离效率高,可连续操作,适用于所有在污水处理以活性污泥法或其变体为基础的生化处理池工艺中。

交易流程

  • 平台资深顾问将根据买家的需求,提供一对一服务,协助买家挑选到合适的专利。

  • 待买家确认无误后,根据顾问指导进行下单,并签订协议与合同,买家需要支付50%交易款给平台。

  • 平台将负责办理官方变更手续,向国知局提交转让材料。

  • 约10个工作日左右,待买家确认收到专利《变更手续合格通知书》后,向平台支付剩余交易款。

  • 转让成功后,平台会将专利证书原件、专利登记簿副本原件邮寄给买家,同时把交易尾款支付给卖家,保障双方交易顺利。

过户资料

主体资格 转让方提供 受让方提供 平台提供 转让完成,可获得
自然人 身份证复印件,专利证书原件; 身份证复印件
有效个体营业执照
转让申请书
代理委托书
转让协议书
发明人变更声明
专利证书
手续合格通知书
专利登记簿副本
公司 有效的企业营业执照副本复印件,专利证书原件 有效的企业营业执照副本复印件;企业组织机构代码证
平台专属代理事务所将对委托交易全程监督,确保所有交易合同及相关文件合法有效。

发布求购信息