当前位置: 首页 > 知识产权交易 > 专利转让 >

待交易一种移动式水产养殖用池塘底部高效清污装置

专利号:CN202022214564.9 已授权

申请日:2023-02-01发布日期:2023-02-01

立即收藏 立即询价 转让价格:询价

专利摘要

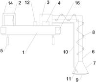
本实用新型公开了一种移动式水产养殖用池塘底部高效清污装置,包括浮船,在浮船上设有发电机、吸污泵和高压水泵,浮船底部设有螺旋桨;吸污泵一端通过吸污管连接有吸污斗,吸污管上连接有多个浮标;吸污斗下部边缘设有拦截网,所述高压水泵通过高压水管连接有高压水枪;浮船上设有控制开关,浮船侧壁四角连接有防撞板。本实用新型结构设计合理简便,便于移动,方便操作,可实现对水产养殖池塘全方位无死角的清淤去污,移动、操作方便,制作工艺简单,成本低,富营养化养殖淤泥清除效率高且彻底,特别适合小面积精养鱼虾池塘底部黑淤泥层的快速清除处理,以确保下一养殖茬段的养殖产量和成功率,在水产养殖行业具有很好的市场推广应用价值。

交易流程

  • 平台资深顾问将根据买家的需求,提供一对一服务,协助买家挑选到合适的专利。

  • 待买家确认无误后,根据顾问指导进行下单,并签订协议与合同,买家需要支付50%交易款给平台。

  • 平台将负责办理官方变更手续,向国知局提交转让材料。

  • 约10个工作日左右,待买家确认收到专利《变更手续合格通知书》后,向平台支付剩余交易款。

  • 转让成功后,平台会将专利证书原件、专利登记簿副本原件邮寄给买家,同时把交易尾款支付给卖家,保障双方交易顺利。

过户资料

主体资格 转让方提供 受让方提供 平台提供 转让完成,可获得
自然人 身份证复印件,专利证书原件; 身份证复印件
有效个体营业执照
转让申请书
代理委托书
转让协议书
发明人变更声明
专利证书
手续合格通知书
专利登记簿副本
公司 有效的企业营业执照副本复印件,专利证书原件 有效的企业营业执照副本复印件;企业组织机构代码证
平台专属代理事务所将对委托交易全程监督,确保所有交易合同及相关文件合法有效。

发布求购信息