当前位置: 首页 > 知识产权交易 > 专利转让 >

待交易一种水产养殖用自动拉网捕鱼装置

专利号:CN202022468024.3 已授权

申请日:2023-02-01发布日期:2023-02-01

立即收藏 立即询价 转让价格:询价

专利摘要

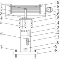
本实用新型公开了一种水产养殖用自动拉网捕鱼装置,包括固定套杆,所述固定套杆的底部设置有定位安装组件,所述固定套杆的内部活动安装有升降杆,所述升降杆和固定套杆之间设置有转动调节组件,所述升降杆的顶部固定安装有支撑架。该一种水产养殖用自动拉网捕鱼装置,在进行日常使用的过程中,可通过将渔网的外沿和边角处位置与卡接环进行实时固定,然后通过启动电机带动收卷辊进行实时转动将连接绳实时收纳卷绕,从而通过锁链将渔网的外沿进行拉动形成兜罩,将鱼包裹在渔网中间,并直接进行拉动到相应的岸边处即可,代替了人工进行手动拉动收网,节省了人力物力提高了效率。

交易流程

  • 平台资深顾问将根据买家的需求,提供一对一服务,协助买家挑选到合适的专利。

  • 待买家确认无误后,根据顾问指导进行下单,并签订协议与合同,买家需要支付50%交易款给平台。

  • 平台将负责办理官方变更手续,向国知局提交转让材料。

  • 约10个工作日左右,待买家确认收到专利《变更手续合格通知书》后,向平台支付剩余交易款。

  • 转让成功后,平台会将专利证书原件、专利登记簿副本原件邮寄给买家,同时把交易尾款支付给卖家,保障双方交易顺利。

过户资料

主体资格 转让方提供 受让方提供 平台提供 转让完成,可获得
自然人 身份证复印件,专利证书原件; 身份证复印件
有效个体营业执照
转让申请书
代理委托书
转让协议书
发明人变更声明
专利证书
手续合格通知书
专利登记簿副本
公司 有效的企业营业执照副本复印件,专利证书原件 有效的企业营业执照副本复印件;企业组织机构代码证
平台专属代理事务所将对委托交易全程监督,确保所有交易合同及相关文件合法有效。

发布求购信息