当前位置: 首页 > 知识产权交易 > 专利转让 >

待交易一种客车侧围蒙皮手动涨拉工装

专利号:CN202022566303.3 已授权

申请日:2023-02-01发布日期:2023-02-01

立即收藏 立即询价 转让价格:询价

专利摘要

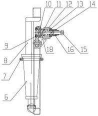
本实用新型涉及客车侧围技术领域,具体地说,涉及一种客车侧围蒙皮手动涨拉工装。其包括支架总成,安装在所述支架总成侧面的支撑座总成,安装在所述支撑座总成下侧的机械式千斤顶,所述支架总成侧面安装有连接板支座,所述连接板支座侧面安装有固定板,所述固定板侧面开设有螺孔,所述固定板侧面安装有第二六角螺栓,所述第二六角螺栓和螺孔螺纹连接,所述支架总成侧面安装有凹块,所述凹块内置有凸块,所述凸块和所述凹块插接配合,所述凸块侧面安装有锁紧螺母,所述锁紧螺母内置有第四六角螺栓,所述第四六角螺栓和所述锁紧螺母螺纹连接。本实用新型通过设置的由凹块、凸块、均匀分布的锁紧座能够对蒙皮锁紧提供保障。

交易流程

  • 平台资深顾问将根据买家的需求,提供一对一服务,协助买家挑选到合适的专利。

  • 待买家确认无误后,根据顾问指导进行下单,并签订协议与合同,买家需要支付50%交易款给平台。

  • 平台将负责办理官方变更手续,向国知局提交转让材料。

  • 约10个工作日左右,待买家确认收到专利《变更手续合格通知书》后,向平台支付剩余交易款。

  • 转让成功后,平台会将专利证书原件、专利登记簿副本原件邮寄给买家,同时把交易尾款支付给卖家,保障双方交易顺利。

过户资料

主体资格 转让方提供 受让方提供 平台提供 转让完成,可获得
自然人 身份证复印件,专利证书原件; 身份证复印件
有效个体营业执照
转让申请书
代理委托书
转让协议书
发明人变更声明
专利证书
手续合格通知书
专利登记簿副本
公司 有效的企业营业执照副本复印件,专利证书原件 有效的企业营业执照副本复印件;企业组织机构代码证
平台专属代理事务所将对委托交易全程监督,确保所有交易合同及相关文件合法有效。

发布求购信息