当前位置: 首页 > 知识产权交易 > 专利转让 >

待交易一种用于钢结构建筑的现浇飘窗施工防护罩

专利号:CN202022739504.9 已授权

申请日:2023-02-01发布日期:2023-02-01

立即收藏 立即询价 转让价格:询价

专利摘要

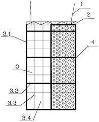
本实用新型公开了一种用于钢结构建筑的现浇飘窗施工防护罩,属于建筑领域,包括若干根钢丝吊绳、悬挂桁架、外框架、冲孔网和底部护框,若干根钢丝吊绳一端固定在墙体上,另一端套设在悬挂桁架上,悬挂桁架的内侧可拆卸设置在墙体上,外框架悬挂在悬挂桁架上,外框架的侧边可拆卸设置在墙体上,冲孔网设置在外框架的外侧,底部护框设置在外框架的底部。本实用新型保证作业人员在飘窗施工过程中的临边作业安全,可以随着主体的施工进度进行提升,保证其正常周转使用的保护罩,使用钢丝吊绳悬挂的方式,可以实现快速的拆卸提升,拆卸安装更加方便,提高了施工效率,并且使用该保护罩,不需要对墙体钻孔,后期不会产生渗水隐患,降低施工陈本。

交易流程

  • 平台资深顾问将根据买家的需求,提供一对一服务,协助买家挑选到合适的专利。

  • 待买家确认无误后,根据顾问指导进行下单,并签订协议与合同,买家需要支付50%交易款给平台。

  • 平台将负责办理官方变更手续,向国知局提交转让材料。

  • 约10个工作日左右,待买家确认收到专利《变更手续合格通知书》后,向平台支付剩余交易款。

  • 转让成功后,平台会将专利证书原件、专利登记簿副本原件邮寄给买家,同时把交易尾款支付给卖家,保障双方交易顺利。

过户资料

主体资格 转让方提供 受让方提供 平台提供 转让完成,可获得
自然人 身份证复印件,专利证书原件; 身份证复印件
有效个体营业执照
转让申请书
代理委托书
转让协议书
发明人变更声明
专利证书
手续合格通知书
专利登记簿副本
公司 有效的企业营业执照副本复印件,专利证书原件 有效的企业营业执照副本复印件;企业组织机构代码证
平台专属代理事务所将对委托交易全程监督,确保所有交易合同及相关文件合法有效。

发布求购信息