当前位置: 首页 > 知识产权交易 > 专利转让 >

待交易一种相控阵超声焊缝检测装置

专利号:CN202022780367.3 已授权

申请日:2023-02-01发布日期:2023-02-01

立即收藏 立即询价 转让价格:询价

专利摘要

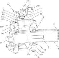
本实用新型公开了一种相控阵超声焊缝检测装置,包括支撑架、弧形滑动导轨和超声相控阵检测探头,在所述支撑架的下端前侧设置所述弧形滑动导轨,在所述支撑架的上端设置所述超声相控阵检测探头,在所述支撑架上端的前方两侧设置有上导向限位轮,在支撑架的下端前侧设置有下导向限位轮,在上导向限位轮和下导向限位轮之间设置所述弧形滑动导轨,所述上导向限位轮和下导向限位轮分别套设在弧形滑动导轨内并沿该弧形滑动导轨内滚动,在支撑架的后侧设置与所述弧形滑动导轨背面传动接触的轮毂电机,在所述弧形滑动导轨的正表面设置有磁铁吸附板。本实用新型能够在一定的前进速度进行测量,易于控制,对于提高罐体焊缝检测效果具有很大的实际意义。

交易流程

  • 平台资深顾问将根据买家的需求,提供一对一服务,协助买家挑选到合适的专利。

  • 待买家确认无误后,根据顾问指导进行下单,并签订协议与合同,买家需要支付50%交易款给平台。

  • 平台将负责办理官方变更手续,向国知局提交转让材料。

  • 约10个工作日左右,待买家确认收到专利《变更手续合格通知书》后,向平台支付剩余交易款。

  • 转让成功后,平台会将专利证书原件、专利登记簿副本原件邮寄给买家,同时把交易尾款支付给卖家,保障双方交易顺利。

过户资料

主体资格 转让方提供 受让方提供 平台提供 转让完成,可获得
自然人 身份证复印件,专利证书原件; 身份证复印件
有效个体营业执照
转让申请书
代理委托书
转让协议书
发明人变更声明
专利证书
手续合格通知书
专利登记簿副本
公司 有效的企业营业执照副本复印件,专利证书原件 有效的企业营业执照副本复印件;企业组织机构代码证
平台专属代理事务所将对委托交易全程监督,确保所有交易合同及相关文件合法有效。

发布求购信息