当前位置: 首页 > 知识产权交易 > 专利转让 >

待交易一种智慧城市智能垃圾管理装置

专利号:CN202022951236.7 已授权

申请日:2023-02-01发布日期:2023-02-01

立即收藏 立即询价 转让价格:询价

专利摘要

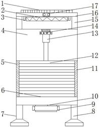
本实用新型公开了一种智慧城市智能垃圾管理装置,包括箱体,所述箱体的一侧表面设置有插接导出组件,所述箱体的顶部两侧皆固定安装有支撑板,所述支撑板的顶部固定安装有顶板,所述顶板的底部两侧皆固定安装有连接块,所述连接块之间固定安装有紫外线灯管。该一种智慧城市智能垃圾管理装置,可通过电动推杆伸缩带动挤压板进行移动,对箱体内部的垃圾进行实时挤压出液体,并通过筛网将液体进行过滤导入到箱体底部,实现垃圾中的固液分离,可通过气缸带动伸缩杆进行实时伸缩,将挡料板从插接座内侧进行实时抽动,将导出口进行实时打开,通过挤压板将固体垃圾推出,使垃圾清理更加方便效率更高。

交易流程

  • 平台资深顾问将根据买家的需求,提供一对一服务,协助买家挑选到合适的专利。

  • 待买家确认无误后,根据顾问指导进行下单,并签订协议与合同,买家需要支付50%交易款给平台。

  • 平台将负责办理官方变更手续,向国知局提交转让材料。

  • 约10个工作日左右,待买家确认收到专利《变更手续合格通知书》后,向平台支付剩余交易款。

  • 转让成功后,平台会将专利证书原件、专利登记簿副本原件邮寄给买家,同时把交易尾款支付给卖家,保障双方交易顺利。

过户资料

主体资格 转让方提供 受让方提供 平台提供 转让完成,可获得
自然人 身份证复印件,专利证书原件; 身份证复印件
有效个体营业执照
转让申请书
代理委托书
转让协议书
发明人变更声明
专利证书
手续合格通知书
专利登记簿副本
公司 有效的企业营业执照副本复印件,专利证书原件 有效的企业营业执照副本复印件;企业组织机构代码证
平台专属代理事务所将对委托交易全程监督,确保所有交易合同及相关文件合法有效。

发布求购信息