当前位置: 首页 > 知识产权交易 > 专利转让 >

待交易一种仿真花射骨机

专利号:CN201922485823.9 已授权

申请日:2023-02-02发布日期:2023-02-02

立即收藏 立即询价 转让价格:询价

专利摘要

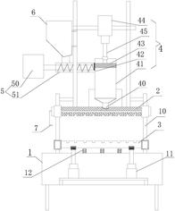
实用新型公开了一种仿真花射骨机,包括支撑台和固定在支撑台的台面上方的上固定模、下活动模、注塑机构、下料传送装置和储料斗,在所述支撑台的台面上竖直固定有多跟导向固定柱,所述下活动模通过直线轴承套设在所述导向固定柱的下端且接近支撑台的台面,该驱动气缸的输出轴向上伸出与所述下活动模的底面传动连接,所述注塑机构竖直固定在所述上固定模的上方,在注塑机构的下端设置有注料口,该注塑机构的下端通过注料口与所述上固定模的上表面连通,所述储料斗设置在所述下料传送装置的上方,所述下料传送装置的出料口与所述注塑机构的上端侧壁连通。本实用新型能方便地将塑料原料送入模内且能够快速地将仿真花瓣进行串联起来。

交易流程

  • 平台资深顾问将根据买家的需求,提供一对一服务,协助买家挑选到合适的专利。

  • 待买家确认无误后,根据顾问指导进行下单,并签订协议与合同,买家需要支付50%交易款给平台。

  • 平台将负责办理官方变更手续,向国知局提交转让材料。

  • 约10个工作日左右,待买家确认收到专利《变更手续合格通知书》后,向平台支付剩余交易款。

  • 转让成功后,平台会将专利证书原件、专利登记簿副本原件邮寄给买家,同时把交易尾款支付给卖家,保障双方交易顺利。

过户资料

主体资格 转让方提供 受让方提供 平台提供 转让完成,可获得
自然人 身份证复印件,专利证书原件; 身份证复印件
有效个体营业执照
转让申请书
代理委托书
转让协议书
发明人变更声明
专利证书
手续合格通知书
专利登记簿副本
公司 有效的企业营业执照副本复印件,专利证书原件 有效的企业营业执照副本复印件;企业组织机构代码证
平台专属代理事务所将对委托交易全程监督,确保所有交易合同及相关文件合法有效。

发布求购信息