当前位置: 首页 > 知识产权交易 > 专利转让 >

待交易一种小型带有MBR污水处理系统的回流稳定控制装置

专利号:CN201921131121.4 已授权

申请日:2023-02-02发布日期:2023-02-02

立即收藏 立即询价 转让价格:询价

专利摘要

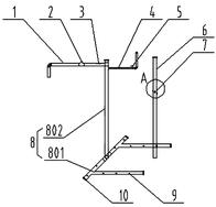
本实用新型公开了一种小型带有MBR污水处理系统的回流稳定控制装置,包括污泥提升系统、回流管、气管、液位控制管及液位控制线,污泥提升系统包括气提管和吸泥管,气提管的一端与吸泥管连接,另一端与气管连接,气管上设置有塑料球阀,气管连接外部的气泵,气提管另一端的端部与回流管连接;液位控制管为中空管,液位控制管的中部设有开孔,液位控制线的一端连接外部的电路系统,另一端设置有不锈钢探头,其从液位控制管上部穿入,并从液位控制管中部的开孔穿出。本实用新型装置能实现液位的精准控制,避免液位波动过大而导致回流不稳定、影响总氮去除效果,确保气量可精细化调节,实现无人值守,节省维护成本,保障污水处理设备的稳定运行。

交易流程

  • 平台资深顾问将根据买家的需求,提供一对一服务,协助买家挑选到合适的专利。

  • 待买家确认无误后,根据顾问指导进行下单,并签订协议与合同,买家需要支付50%交易款给平台。

  • 平台将负责办理官方变更手续,向国知局提交转让材料。

  • 约10个工作日左右,待买家确认收到专利《变更手续合格通知书》后,向平台支付剩余交易款。

  • 转让成功后,平台会将专利证书原件、专利登记簿副本原件邮寄给买家,同时把交易尾款支付给卖家,保障双方交易顺利。

过户资料

主体资格 转让方提供 受让方提供 平台提供 转让完成,可获得
自然人 身份证复印件,专利证书原件; 身份证复印件
有效个体营业执照
转让申请书
代理委托书
转让协议书
发明人变更声明
专利证书
手续合格通知书
专利登记簿副本
公司 有效的企业营业执照副本复印件,专利证书原件 有效的企业营业执照副本复印件;企业组织机构代码证
平台专属代理事务所将对委托交易全程监督,确保所有交易合同及相关文件合法有效。

发布求购信息