当前位置: 首页 > 知识产权交易 > 专利转让 >

待交易一种自动导料防堵生物喷淋除臭装置

专利号:CN201921452224.0 已授权

申请日:2023-02-02发布日期:2023-02-02

立即收藏 立即询价 转让价格:询价

专利摘要

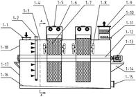
本实用新型公开了一种自动导料防堵生物喷淋除臭装置,包括除臭壳体、除臭转盘、转轴及驱动电机,除臭壳体由上半区壳体及下半区壳体拼装组成,上半区壳体上设置有进气口、除臭转盘及出气口,下半区壳体的底部设置排液口;除臭转盘的两侧设置有反冲洗管,除臭转盘包括外部框架、多级导料机构及填料层,多级导料机构及填料层设置于外部框架内,多级导料机构将填料层分隔成若干个相对独立的小区。本实用新型通过设计沿除臭转盘径向布置的多级导料机构,对转盘内填料进行有效分区和导料,除臭转盘正反向交替转动运行时,通过导料板和除臭转盘两侧反冲洗管的配合作用,实现填料自松动清淤和定期反冲洗的高度结合,在线防堵操作简便、节水节电。

交易流程

  • 平台资深顾问将根据买家的需求,提供一对一服务,协助买家挑选到合适的专利。

  • 待买家确认无误后,根据顾问指导进行下单,并签订协议与合同,买家需要支付50%交易款给平台。

  • 平台将负责办理官方变更手续,向国知局提交转让材料。

  • 约10个工作日左右,待买家确认收到专利《变更手续合格通知书》后,向平台支付剩余交易款。

  • 转让成功后,平台会将专利证书原件、专利登记簿副本原件邮寄给买家,同时把交易尾款支付给卖家,保障双方交易顺利。

过户资料

主体资格 转让方提供 受让方提供 平台提供 转让完成,可获得
自然人 身份证复印件,专利证书原件; 身份证复印件
有效个体营业执照
转让申请书
代理委托书
转让协议书
发明人变更声明
专利证书
手续合格通知书
专利登记簿副本
公司 有效的企业营业执照副本复印件,专利证书原件 有效的企业营业执照副本复印件;企业组织机构代码证
平台专属代理事务所将对委托交易全程监督,确保所有交易合同及相关文件合法有效。

发布求购信息