当前位置: 首页 > 知识产权交易 > 专利转让 >

待交易一种箱体成型机

专利号:CN201922471456.7 已授权

申请日:2023-02-02发布日期:2023-02-02

立即收藏 立即询价 转让价格:询价

专利摘要

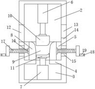
本实用新型涉及箱体成型技术领域,具体为一种箱体成型机。本实用新型包括成型装置外壳,成型装置外壳的内部设有上压腔和下压腔,下压腔水位底部设有轨道板,轨道板的上方设有滑动腔,上压腔的内部固定连接有上压液压杆,下压腔的内部固定连接有下压液压杆,滑动腔的内部设有外模板,四个外模板之间为压箱腔,上压液压杆的一端螺钉连接有上压模,下压液压杆的一端螺钉连接有下顶模,外模板的一端设有螺纹柱,设计了压箱腔,配合外模板、上压模和下压模,将放入的板块直接压成型,避免了箱体成型后,会有局部地区变形,设置了调整压箱腔大小的结构,根据不同型号的箱体大小进行调整。

交易流程

  • 平台资深顾问将根据买家的需求,提供一对一服务,协助买家挑选到合适的专利。

  • 待买家确认无误后,根据顾问指导进行下单,并签订协议与合同,买家需要支付50%交易款给平台。

  • 平台将负责办理官方变更手续,向国知局提交转让材料。

  • 约10个工作日左右,待买家确认收到专利《变更手续合格通知书》后,向平台支付剩余交易款。

  • 转让成功后,平台会将专利证书原件、专利登记簿副本原件邮寄给买家,同时把交易尾款支付给卖家,保障双方交易顺利。

过户资料

主体资格 转让方提供 受让方提供 平台提供 转让完成,可获得
自然人 身份证复印件,专利证书原件; 身份证复印件
有效个体营业执照
转让申请书
代理委托书
转让协议书
发明人变更声明
专利证书
手续合格通知书
专利登记簿副本
公司 有效的企业营业执照副本复印件,专利证书原件 有效的企业营业执照副本复印件;企业组织机构代码证
平台专属代理事务所将对委托交易全程监督,确保所有交易合同及相关文件合法有效。

发布求购信息