当前位置: 首页 > 知识产权交易 > 专利转让 >

待交易一种雾化免清洗自动脱水净化器

专利号:CN201920968317.2 已授权

申请日:2023-02-02发布日期:2023-02-02

立即收藏 立即询价 转让价格:询价

专利摘要

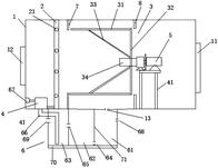
本实用新型公开了一种雾化免清洗自动脱水净化器,包括除油烟箱体、喷水装置、脱水转筒、蓄能水箱、高速电机和油水分离装置,除油烟箱体的两端设置出风口和进风口,喷水装置呈环形一周固定在除油烟箱体内侧壁上,该喷水装置上设置有喷嘴,蓄能水箱设置在除油烟箱体内并与喷水装置连通,脱水转筒设置在喷水装置和出风口之间,该脱水转筒的一端开口且朝向进风口,脱水转筒的底部中心设有转轴,该脱水转筒通过转轴可转动地固定在高速电机上,所述高速电机下方设有支架。本实用新型提供了一种具有结构简单、能够进行水气分离,能够将清洗水直接充满整个净化器,将进入净化器的油烟完全净化、且便于自身洁净免清洗、可循环利用水资源的油烟净化器。

交易流程

  • 平台资深顾问将根据买家的需求,提供一对一服务,协助买家挑选到合适的专利。

  • 待买家确认无误后,根据顾问指导进行下单,并签订协议与合同,买家需要支付50%交易款给平台。

  • 平台将负责办理官方变更手续,向国知局提交转让材料。

  • 约10个工作日左右,待买家确认收到专利《变更手续合格通知书》后,向平台支付剩余交易款。

  • 转让成功后,平台会将专利证书原件、专利登记簿副本原件邮寄给买家,同时把交易尾款支付给卖家,保障双方交易顺利。

过户资料

主体资格 转让方提供 受让方提供 平台提供 转让完成,可获得
自然人 身份证复印件,专利证书原件; 身份证复印件
有效个体营业执照
转让申请书
代理委托书
转让协议书
发明人变更声明
专利证书
手续合格通知书
专利登记簿副本
公司 有效的企业营业执照副本复印件,专利证书原件 有效的企业营业执照副本复印件;企业组织机构代码证
平台专属代理事务所将对委托交易全程监督,确保所有交易合同及相关文件合法有效。

发布求购信息