当前位置: 首页 > 知识产权交易 > 专利转让 >

待交易一种免清洗自动脱水净化器

专利号:CN201920968572.7 已授权

申请日:2023-02-02发布日期:2023-02-02

立即收藏 立即询价 转让价格:询价

专利摘要

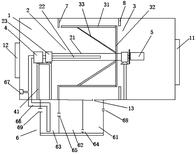
本实用新型公开了一种免清洗自动脱水净化器,包括除油烟箱体、喷水装置、脱水转筒、蓄能水箱、高速电机和油水分离装置,所述除油烟箱体的两端设置出风口和进风口,所述喷水装置包括喷水滚筒和循环水导入轴,所述喷水滚筒的两端均设有轴承座,其中一个与蓄能水箱连接,另一个与高速电机连接,所述脱水转筒以喷水滚筒为轴心且一端开口,该脱水转筒的开口朝向进风口,且该脱水转筒的开口处的四周设有一圈挡风板,该挡风板固定在除油烟箱体上,该脱水转筒的底部的四周设置有过滤件。本实用新型使所有进入除油烟箱体的空气只能经过过滤件的过滤再由出风口出去,可将油烟清洗洁净并并干燥,还能通过离心使脱水转筒实现脱油免洗。

交易流程

  • 平台资深顾问将根据买家的需求,提供一对一服务,协助买家挑选到合适的专利。

  • 待买家确认无误后,根据顾问指导进行下单,并签订协议与合同,买家需要支付50%交易款给平台。

  • 平台将负责办理官方变更手续,向国知局提交转让材料。

  • 约10个工作日左右,待买家确认收到专利《变更手续合格通知书》后,向平台支付剩余交易款。

  • 转让成功后,平台会将专利证书原件、专利登记簿副本原件邮寄给买家,同时把交易尾款支付给卖家,保障双方交易顺利。

过户资料

主体资格 转让方提供 受让方提供 平台提供 转让完成,可获得
自然人 身份证复印件,专利证书原件; 身份证复印件
有效个体营业执照
转让申请书
代理委托书
转让协议书
发明人变更声明
专利证书
手续合格通知书
专利登记簿副本
公司 有效的企业营业执照副本复印件,专利证书原件 有效的企业营业执照副本复印件;企业组织机构代码证
平台专属代理事务所将对委托交易全程监督,确保所有交易合同及相关文件合法有效。

发布求购信息