当前位置: 首页 > 知识产权交易 > 专利转让 >

待交易一种可自动均衡温度和湿度的面制食品醒发装置

专利号:CN201920305543.2 已授权

申请日:2023-02-03发布日期:2023-02-03

立即收藏 立即询价 转让价格:询价

专利摘要

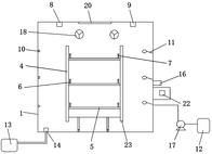
本实用新型公开了一种可自动均衡温度和湿度的面制食品醒发装置,包括醒发室,所述醒发室四侧壁均设有保温层,其中一侧壁还设有室门,醒发室中间设有醒发架,所述醒发架设有多层醒发板,每层醒发板一端均设有红外线发射器,醒发板另一端均设有红外线接收器;所述醒发室顶部设有温度传感器和湿度传感器;所述醒发室上与室门相邻的侧壁上间隔均匀设有多排电热丝,与室门相邻的另一侧壁上由上至下间隔均匀设有多个雾化喷头,所述雾化喷头通过水泵与设置于醒发室外的水箱相连通;所述醒发室外设有鼓风机,所述醒发室外还设有控制面板和报警器。

交易流程

  • 平台资深顾问将根据买家的需求,提供一对一服务,协助买家挑选到合适的专利。

  • 待买家确认无误后,根据顾问指导进行下单,并签订协议与合同,买家需要支付50%交易款给平台。

  • 平台将负责办理官方变更手续,向国知局提交转让材料。

  • 约10个工作日左右,待买家确认收到专利《变更手续合格通知书》后,向平台支付剩余交易款。

  • 转让成功后,平台会将专利证书原件、专利登记簿副本原件邮寄给买家,同时把交易尾款支付给卖家,保障双方交易顺利。

过户资料

主体资格 转让方提供 受让方提供 平台提供 转让完成,可获得
自然人 身份证复印件,专利证书原件; 身份证复印件
有效个体营业执照
转让申请书
代理委托书
转让协议书
发明人变更声明
专利证书
手续合格通知书
专利登记簿副本
公司 有效的企业营业执照副本复印件,专利证书原件 有效的企业营业执照副本复印件;企业组织机构代码证
平台专属代理事务所将对委托交易全程监督,确保所有交易合同及相关文件合法有效。

发布求购信息